授权公布号:CN219018730U
一种用于加装屋顶的太阳能装置
有效
申请
2022-12-12
申请公布
1970-01-01
授权
2023-05-12
预估到期
2032-12-12
| 申请号 | CN202223323456.0 |
| 申请日 | 2022-12-12 |
| 授权公布号 | CN219018730U |
| 授权公告日 | 2023-05-12 |
| 分类号 | H02S20/30;F24S30/425;F24S25/70 |
| 分类 | 发电、变电或配电; |
| 申请人名称 | 中铁隆工程集团有限公司 |
| 申请人地址 | 四川省成都市武侯区武科西二路189号中铁隆大厦8层 |
专利法律状态
2023-05-12
授权
状态信息
授权
摘要
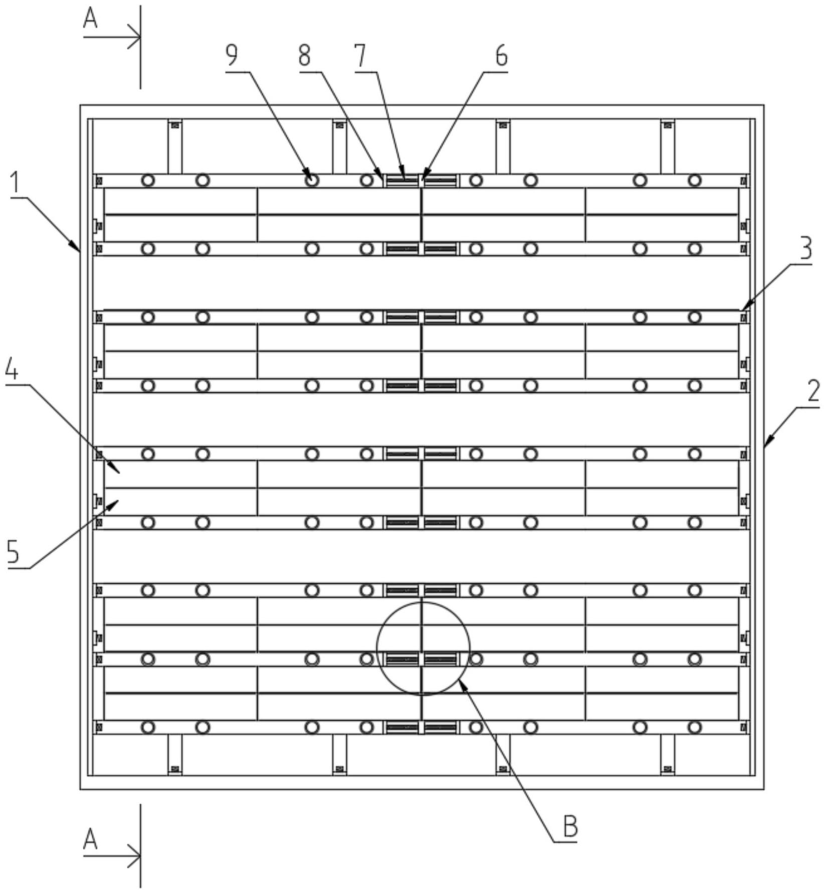
本实用新型公开了一种用于加装屋顶的太阳能装置,用以解决现有的太阳能装置在加装过程中容易对已有房屋的防水等级造成较大破坏的问题,其包括连接框架、连接装置、第一光伏板和第二光伏板;连接框架具有间隔平行布置的第一杆件和第二杆件;连接装置的数量至少为两个,每个连接装置分别与第一杆件和第二杆件滑动连接;第一光伏板与其中一个连接装置转动连接;第二光伏板与其中一个连接装置相邻的连接装置转动连接且第二光伏板的转动轴平行于第一光伏板的转动轴,第二光伏板与第一光伏板铰接。本实用新型安装便捷、加装过程中对房屋的防水等级造成的破坏极小,适用于加装工程,且可以调节太阳能板的角度,地域环境适用性较高。


