授权公布号:CN220202694U
一种钢围檩的连接结构
有效
申请
2023-07-05
申请公布
1970-01-01
授权
2023-12-19
预估到期
2033-07-05
| 申请号 | CN202321748238.3 |
| 申请日 | 2023-07-05 |
| 授权公布号 | CN220202694U |
| 授权公告日 | 2023-12-19 |
| 分类号 | E02D17/04;E02D19/04 |
| 分类 | 水利工程;基础;疏浚; |
| 申请人名称 | 中铁隆工程集团有限公司 |
| 申请人地址 | 四川省成都市武侯区武科西二路189号中铁隆大厦8层 |
专利法律状态
2023-12-19
授权
状态信息
授权
摘要
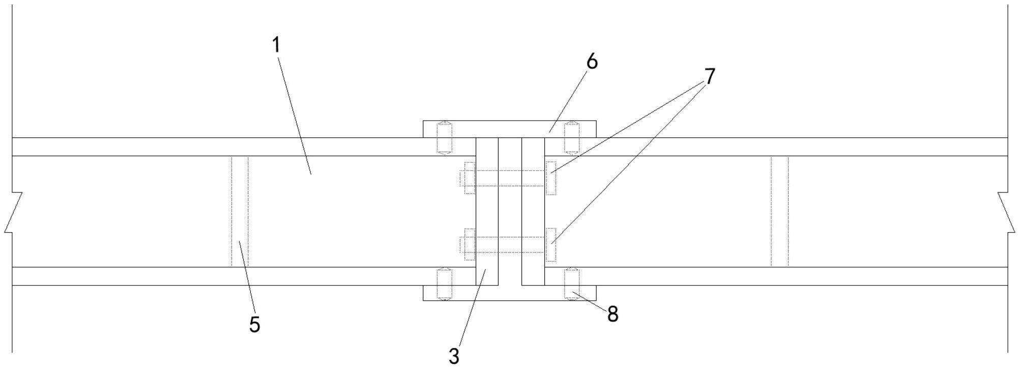
本实用新型公开了一种钢围檩的连接结构,包括钢围檩体,钢围檩体包括:侧板、端面盖板、腹板和加强肋,端面盖板的个数至少有两个,两个端面盖板分别连接在侧板的左右两端,腹板设置在钢围檩体的内部,腹板连接于侧板和端面盖板,钢围檩体的个数有两个,一个钢围檩体的端面盖板与另一个钢围檩体的端面盖板通过锁固件锁固连接,钢围檩体的内部具有加强肋,一个钢围檩体具有至少两个侧板,加强肋设置在两个侧板之间,且加强肋连接于两个侧板,加强肋的两端面上连接有腹板,本实用新型的有益效果:提高了多个钢围檩体连接成一个整体钢围檩体的施工效率,而且多个钢围檩体能稳固的连接成一个整体钢围檩体。


