授权公布号:CN220266227U
一种具有自重轻的人行道铺装结构
有效
申请
2023-08-14
申请公布
1970-01-01
授权
2023-12-29
预估到期
2033-08-14
| 申请号 | CN202322175938.4 |
| 申请日 | 2023-08-14 |
| 授权公布号 | CN220266227U |
| 授权公告日 | 2023-12-29 |
| 分类号 | E01C15/00;E01C7/32;E01C11/18;E01D19/12 |
| 分类 | 道路、铁路或桥梁的建筑; |
| 申请人名称 | 中铁隆工程集团有限公司 |
| 申请人地址 | 四川省成都市武侯区武科西二路189号中铁隆大厦8层 |
专利法律状态
2023-12-29
授权
状态信息
授权
摘要
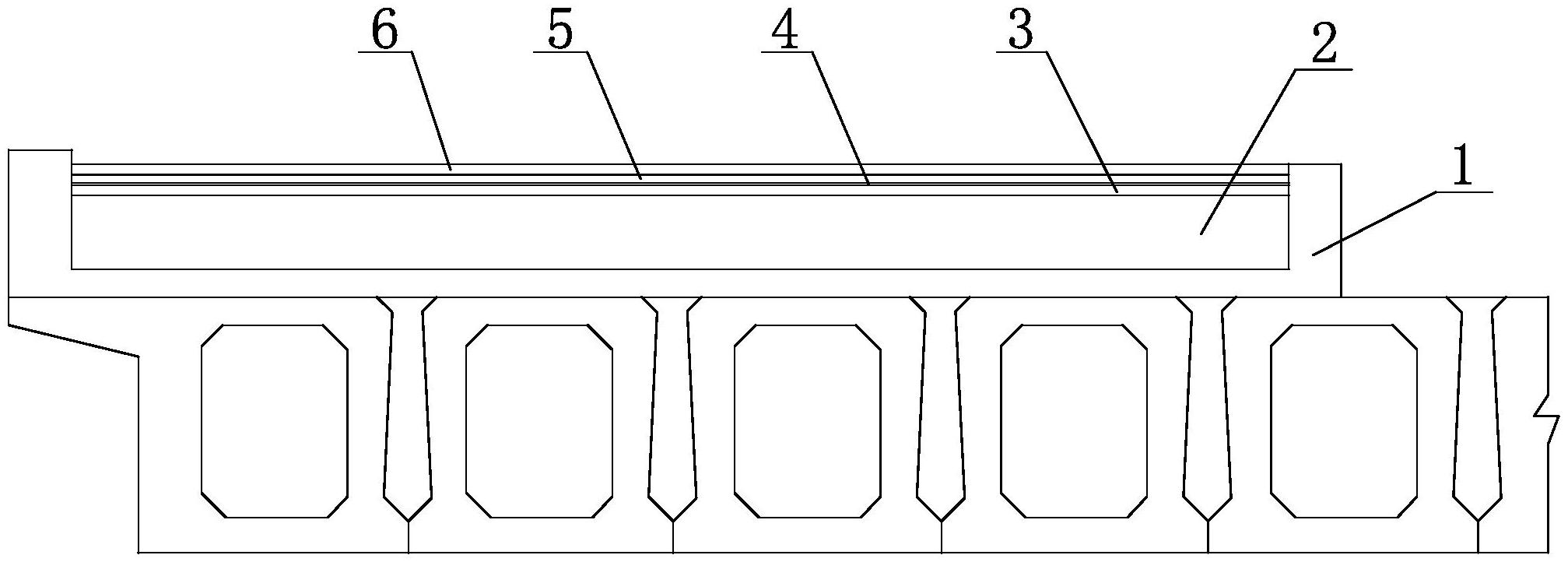
本实用新型公开了一种具有自重轻的人行道铺装结构,包括从下至上依次设置的混凝土铺装层、气泡混合轻质土层、细石混凝土层、防水层、砂浆层和表面铺装层;所述混凝土铺装层的两侧竖直向上延伸并包覆在气泡混合轻质土层、细石混凝土层、防水层、砂浆层和表面铺装层的两侧。本实用新型通过对人行道铺装的层状结构进行改进,由传统的填充混凝土改进为本实用新型的多层结构,采用气泡混合轻质土层,质量轻,减轻了铺装结构的自重,减轻了人行道本身的重量,避免增加桥梁自重,同时在气泡混合轻质土层上层的细石混凝土层、下层的混凝土铺装层中均设置焊接网,从而提高人行道结构整体强度和承载力,保证人行道的安全。


