授权公布号:CN215764922U
一种基于GPS的同步雾灯控制装置
有效
申请
2021-10-13
申请公布
1970-01-01
授权
2022-02-08
预估到期
2031-10-13
| 申请号 | CN202122463601.4 |
| 申请日 | 2021-10-13 |
| 授权公布号 | CN215764922U |
| 授权公告日 | 2022-02-08 |
| 分类号 | F21S41/657;F21S43/00;F21V33/00;F21W102/30N;F21W103/40N;F21W107/10N |
| 分类 | 照明; |
| 申请人名称 | 天津光电比特信息技术有限公司 |
| 申请人地址 | 天津市西青区华苑产业区榕苑路15号5-C-1001A单元 |
专利法律状态
2022-02-08
授权
状态信息
授权
摘要
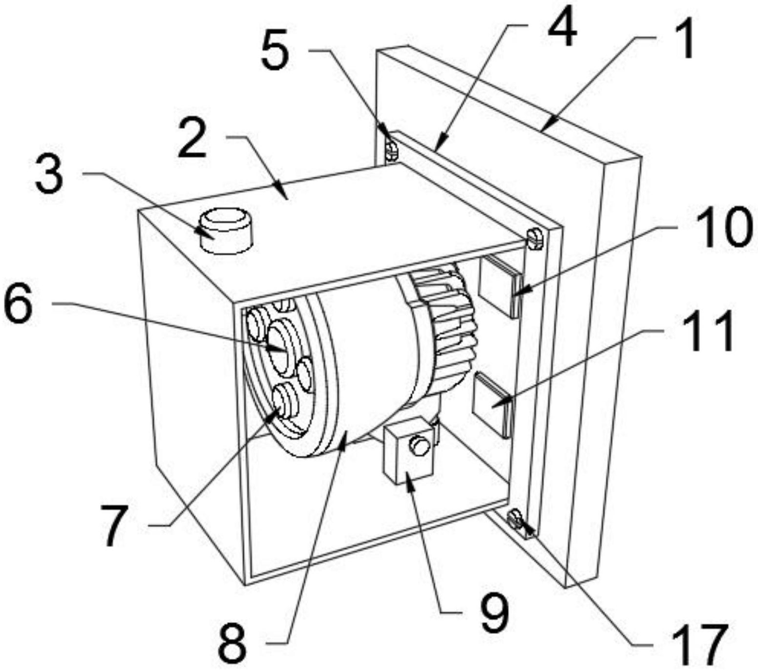
本实用新型公开了一种基于GPS的同步雾灯控制装置,包括安装座和雾灯主体,安装座的一端设有壳体,壳体周侧面设有固定板,固定板上等距设有固定机构,且固定板通过固定机构与安装座固定连接,壳体内部底端设有调节机构,调节机构与雾灯主体转动连接,雾灯主体的一端设有主雾灯,主雾灯周侧面等距设有备用雾灯,安装座上依次设有PLC控制器和GPS定位器,且PLC控制器和GPS定位器均位于壳体内部,壳体顶端设有大气能见度测量仪。本实用新型通过雾灯的智能控制调节装置,可以实现自动智能的对雾灯进行使用,可以在能见度较低的路段上行驶时,可以自动开启,提高驾驶的安全性,避免部分驾驶者忘记开启或不会正确使用雾灯,而存在一定的危险性。


