授权公布号:CN218806958U
一种冲剂自动包装机
有效
申请
2022-12-08
申请公布
1970-01-01
授权
2023-04-07
预估到期
2032-12-08
| 申请号 | CN202223298107.8 |
| 申请日 | 2022-12-08 |
| 授权公布号 | CN218806958U |
| 授权公告日 | 2023-04-07 |
| 分类号 | B65B37/18;B65B43/54;B65B51/10 |
| 分类 | 输送;包装;贮存;搬运薄的或细丝状材料; |
| 申请人名称 | 威海松龄诺可佳中药饮片股份有限公司 |
| 申请人地址 | 山东省威海市环翠区羊亭镇项目二区 |
专利法律状态
2023-04-07
授权
状态信息
授权
摘要
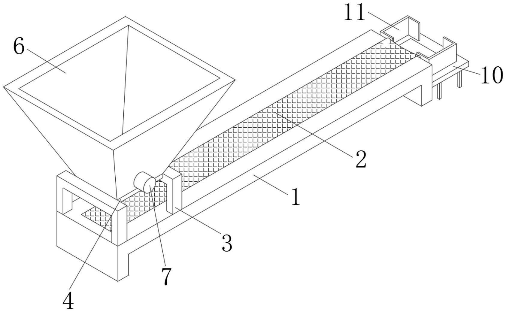
本申请提供了一种冲剂自动包装机,涉及冲剂包装的技术领域,设有机架,所述机架的顶部构造有一字形凹槽,且一字形凹槽内铺设安装有输送带,所述机架的表面一端安装有平行设置的支撑框,且支撑框横跨输送带的表面,所述支撑框相邻的一侧均构造有插槽,且插槽内均插接有插块,所述插块的端部之间焊接固定有支撑杆,所述支撑杆的表面搭接有位于输送带上方的冲剂存放斗,所述冲剂存放斗的侧壁安装有延伸至冲剂存放斗内部的均匀分料组件,所述机架远离冲剂存放斗的一侧贴合安装有称重卸料组件。本实用新型可匀速定量投放冲剂,方便称取冲剂时精确控制冲剂投放量,避免造成冲剂投放过多,可提高冲剂包装时的重量精确度。


