授权公布号:CN217042940U
一种粉碎机吸尘回收装置
有效
申请
2022-04-02
申请公布
1970-01-01
授权
2022-07-26
预估到期
2032-04-02
| 申请号 | CN202220781994.5 |
| 申请日 | 2022-04-02 |
| 授权公布号 | CN217042940U |
| 授权公告日 | 2022-07-26 |
| 分类号 | B02C23/00;B03C3/017 |
| 分类 | 破碎、磨粉或粉碎;谷物碾磨的预处理; |
| 申请人名称 | 威海松龄诺可佳中药饮片股份有限公司 |
| 申请人地址 | 山东省威海市环翠区羊亭镇项目二区 |
专利法律状态
2022-07-26
授权
状态信息
授权
摘要
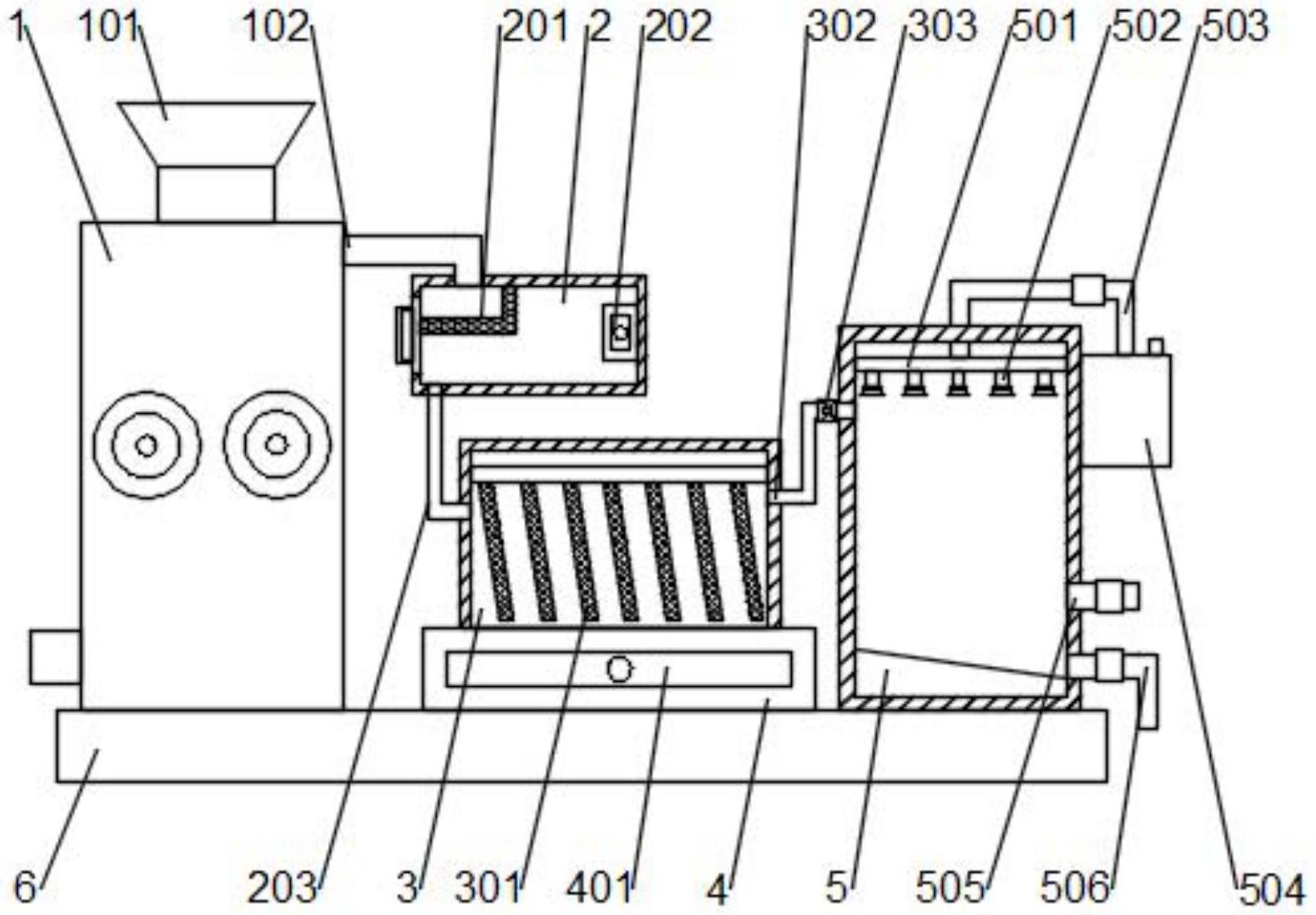
本申请提供了一种粉碎机吸尘回收装置,属于吸尘回收装置技术领域,其技术方案要点是包括第二除尘腔,所述第二除尘腔内部的上方设置有集水管,所述集水管的下端面连通有多个均匀分布的喷头,所述第二除尘腔的右侧安装有水箱,所述水箱的上端面与集水管之间连通有出水管,通过连接管将经过首次过滤的粉尘输送至第一除尘腔内,同时使控制器控制静电吸附板通电工作,使进入第一除尘腔内的粉尘被静电吸附板吸附,并依次穿过多个静电吸附板,进而可对气体中的粉尘进行处理,经过多个静电吸附板的气体进入第二除尘腔内,其次使静电吸附板断电,进而可使静电吸附板表面吸附的粉尘下落至集尘盒内收集。


