授权公布号:CN215858212U
一种装配式建筑用高强度钢构件
有效
申请
2021-07-07
申请公布
1970-01-01
授权
2022-02-18
预估到期
2031-07-07
| 申请号 | CN202121537529.9 |
| 申请日 | 2021-07-07 |
| 授权公布号 | CN215858212U |
| 授权公告日 | 2022-02-18 |
| 分类号 | E04B1/24;E04B1/38;E04B1/58 |
| 分类 | 建筑物; |
| 申请人名称 | 山东中煤建设工程有限公司 |
| 申请人地址 | 山东省济宁市任城区安居民营经济开发区 |
专利法律状态
2022-02-18
授权
状态信息
授权
摘要
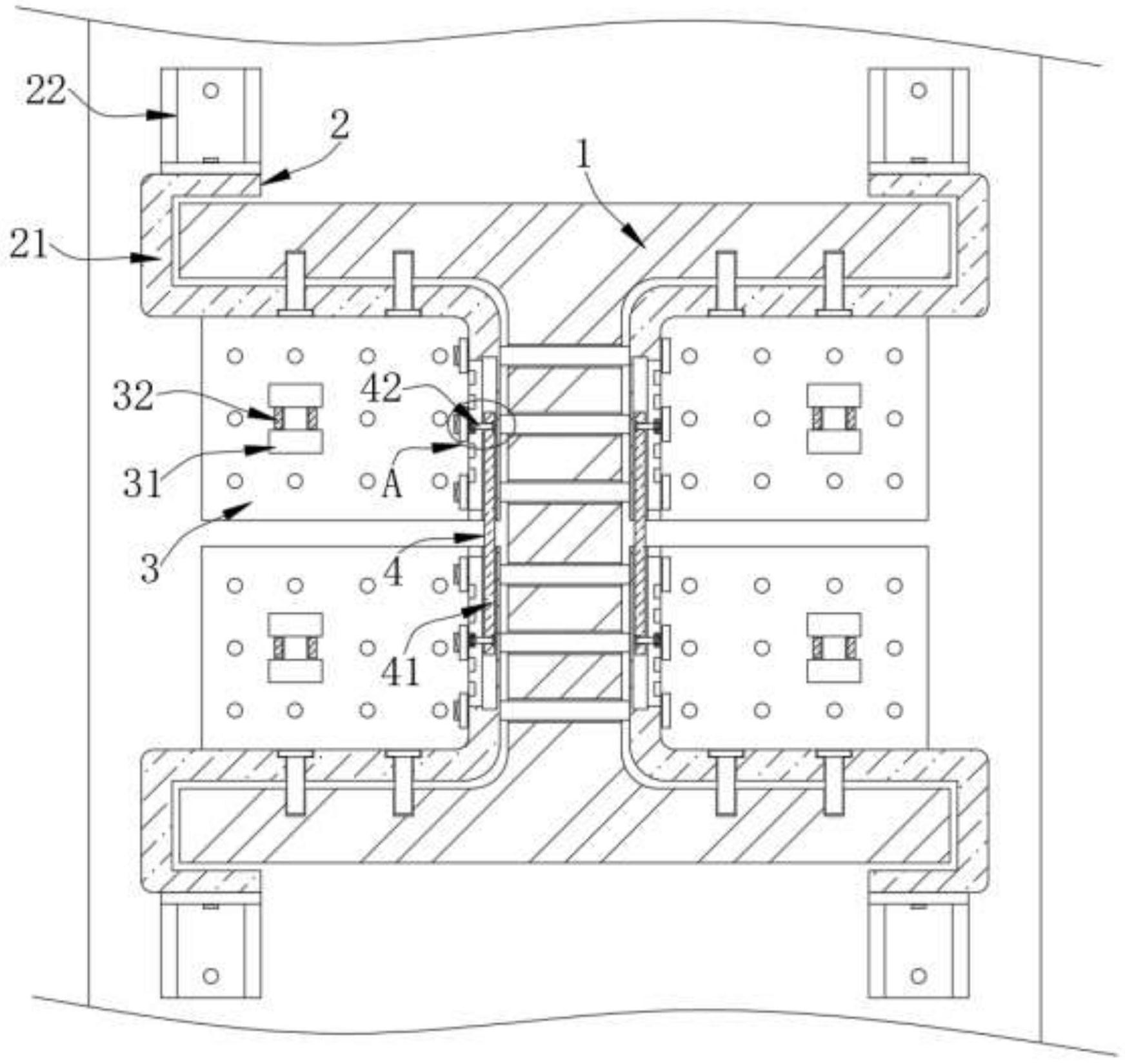
本实用新型属于装配式建筑技术领域,尤其为一种装配式建筑用高强度钢构件,包括工字钢本体,所述工字钢本体的外侧设有用于对所述工字钢本体进行固定支撑的固定组件,所述固定组件的内侧设有用于调整支撑范围的调节组件;通过连接限位板在固定架内的滑动调节,对连接限位板两端的固定架位置进行调整,增加固定架固定覆盖的范围,使得该钢构件能够适应不同尺寸的工字钢本体,提升适用性,减少制备钢构件的生产成本,通过连杆对连接板和固定架进行连接,提升连接板与固定架连接的抗拉性,增加连接的稳定性,提升结构强度,在调整过程中只需根据实际尺寸调整连接限位板的位置在固定架上的位置,操作简单,使得安装较为便捷,提升安装速度以及便捷性。


