授权公布号:CN215858697U
一种预制装配式钢结构楼梯
有效
申请
2021-07-07
申请公布
1970-01-01
授权
2022-02-18
预估到期
2031-07-07
| 申请号 | CN202121537506.8 |
| 申请日 | 2021-07-07 |
| 授权公布号 | CN215858697U |
| 授权公告日 | 2022-02-18 |
| 分类号 | E04F11/02;E04F11/035 |
| 分类 | 建筑物; |
| 申请人名称 | 山东中煤建设工程有限公司 |
| 申请人地址 | 山东省济宁市任城区安居民营经济开发区 |
专利法律状态
2022-02-18
授权
状态信息
授权
摘要
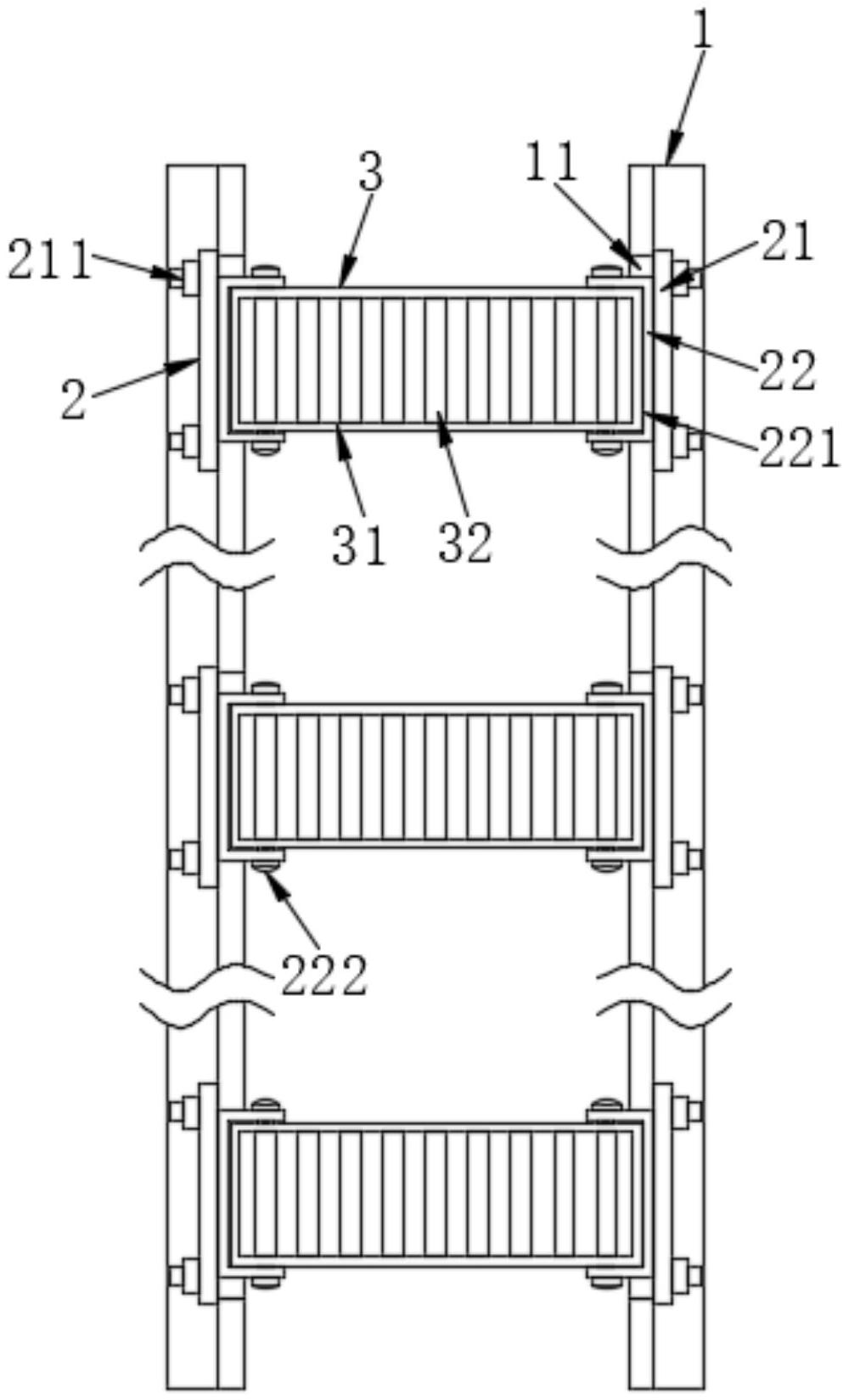
本实用新型属于装配式钢结构件技术领域,尤其为一种预制装配式钢结构楼梯,包括两个侧梯架,两个所述侧梯架水平对称分布并用于安装零件和连接地面,所述侧梯架内部固设有用于安装零件的连接固定组件,两个对应的所述连接固定组件之间固设有用于连接两个所述连接固定组件的踏脚组件,本实用新型中,先通过固定螺钉将连接固定组件固定在侧梯架上,然后将踏脚组件固定到两个对应连接座上的凹槽内部,连接固定组件始终和侧梯架保持在稳定不动的状态,因此可以使两个对应的连接座始终保持在水平的平稳状态,踏脚组件可以平稳的放入到两个连接座内部,使踏脚组件和连接固定组件始终保持在水平的平稳状态,组装效果强,组装效率高。


