授权公布号:CN210486449U
一种火花塞表面烘干清洗设备
有效
申请
2019-07-22
申请公布
1970-01-01
授权
2020-05-08
预估到期
2029-07-22
| 申请号 | CN201921151676.5 |
| 申请日 | 2019-07-22 |
| 授权公布号 | CN210486449U |
| 授权公告日 | 2020-05-08 |
| 分类号 | F26B25/00;F26B21/00 |
| 分类 | 干燥; |
| 申请人名称 | 宁波纽时达火花塞股份有限公司 |
| 申请人地址 | 浙江省宁波市慈溪市坎墩街道坎墩工业园区 |
专利法律状态
2020-05-08
授权
状态信息
授权
摘要
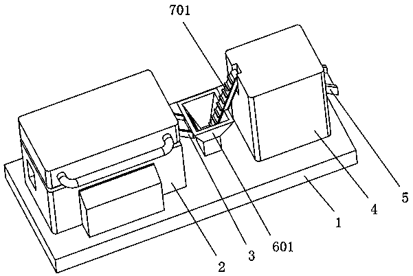
本实用新型提供一种火花塞表面烘干清洗设备,涉及火花塞加工技术领域,包括基板,基板的上端外壁固定连接有清洗机和烘干机,清洗机、烘干机、电热丝和风机均为现有常见型号,清洗机位于烘干机的左侧,基板的上端固定连接有中转装置,中转装置位于清洗机和烘干机二者之间,中转装置与烘干机之间设有传输装置。本实用新型,通过清洗机将火花塞进行清洗,清洗好的火花塞通过第一出料口进入收集斗内部沿着斜板滑到传输带表面的隔板之间,利用隔板之间的缓冲网避免火花塞与金属传输带产生碰撞造成损伤,利用缓冲网底部的弹簧对火花塞进一步进行缓冲。


