授权公布号:CN216264438U
一种火花塞的陶瓷件和金属件套合装置
有效
申请
2021-11-22
申请公布
1970-01-01
授权
2022-04-12
预估到期
2031-11-22
| 申请号 | CN202122867759.8 |
| 申请日 | 2021-11-22 |
| 授权公布号 | CN216264438U |
| 授权公告日 | 2022-04-12 |
| 分类号 | B23P19/02;B23P19/00 |
| 分类 | 机床;不包含在其他类目中的金属加工; |
| 申请人名称 | 宁波纽时达火花塞股份有限公司 |
| 申请人地址 | 浙江省宁波市慈溪墩工市坎墩街道坎墩工业园区 |
专利法律状态
2022-04-12
授权
状态信息
授权
摘要
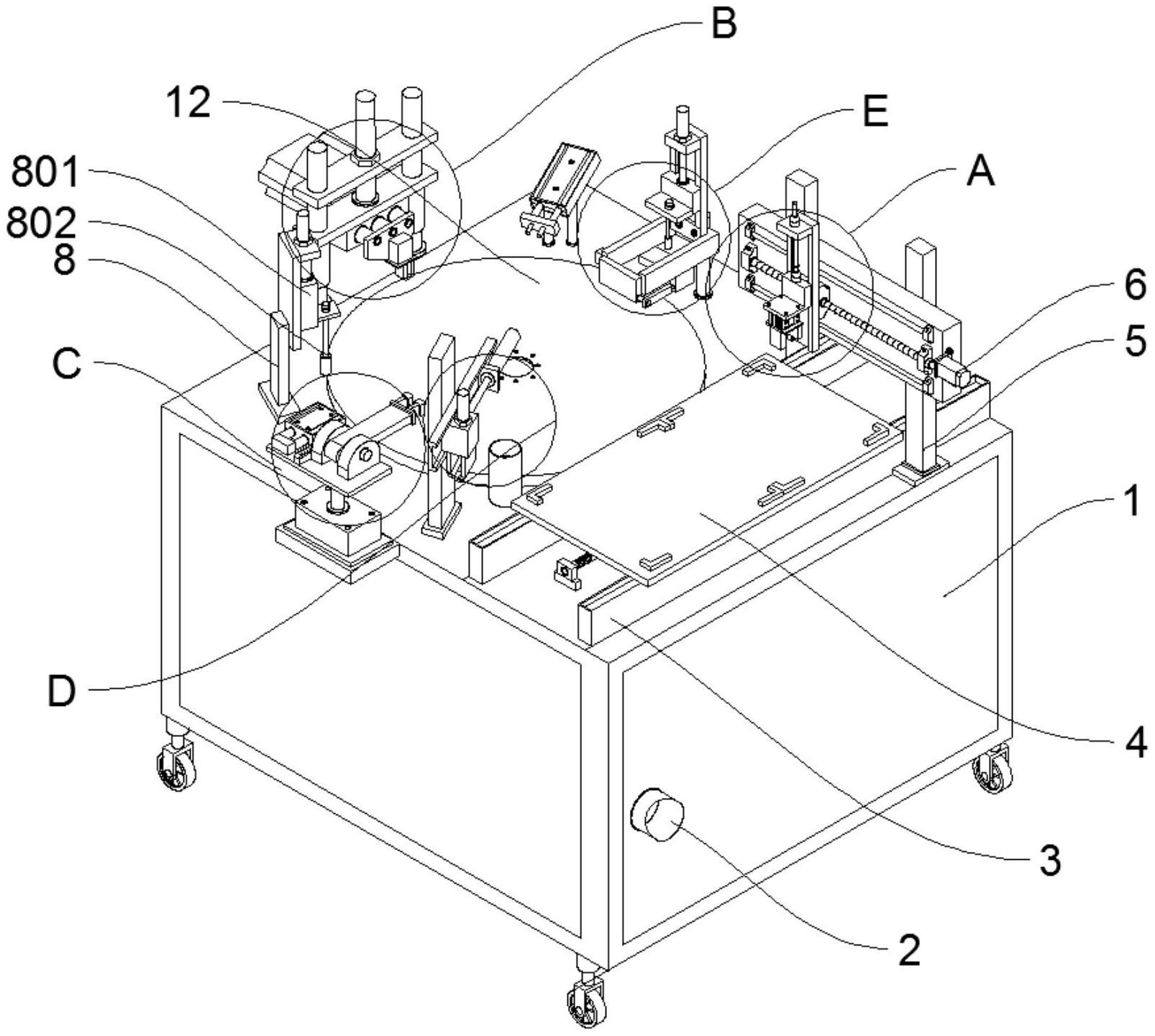
本实用新型公开了一种火花塞的陶瓷件和金属件套合装置,包括操作台,操作台上端面一侧固定安装有一对固定架,固定架的表面一侧固定安装有第一物料抓取机构,第一物料抓取机构的一侧固定安装有垫圈抓取机构,垫圈抓取机构的另一侧安装有第二物料抓取机构,第二物料抓取机构在远离垫圈抓取机构的一侧安装有装配机构,装配机构在远离第二物料抓取机构的一侧安装有翻转机构,且翻转机构在远离装配机构的一侧安装有废品抓取机构,操作台上端面位于各机构中心处转动安装有物料盘,且物料盘的表面等距安装有若干装配座。


