授权公布号:CN210476212U
一种多侧电极的火花塞中心电极定位工装
有效
申请
2019-06-20
申请公布
1970-01-01
授权
2020-05-08
预估到期
2029-06-20
| 申请号 | CN201920930800.1 |
| 申请日 | 2019-06-20 |
| 授权公布号 | CN210476212U |
| 授权公告日 | 2020-05-08 |
| 分类号 | B23Q3/06 |
| 分类 | 机床;不包含在其他类目中的金属加工; |
| 申请人名称 | 宁波纽时达火花塞股份有限公司 |
| 申请人地址 | 浙江省宁波市慈溪市坎墩街道坎墩工业园区 |
专利法律状态
2020-05-08
授权
状态信息
授权
摘要
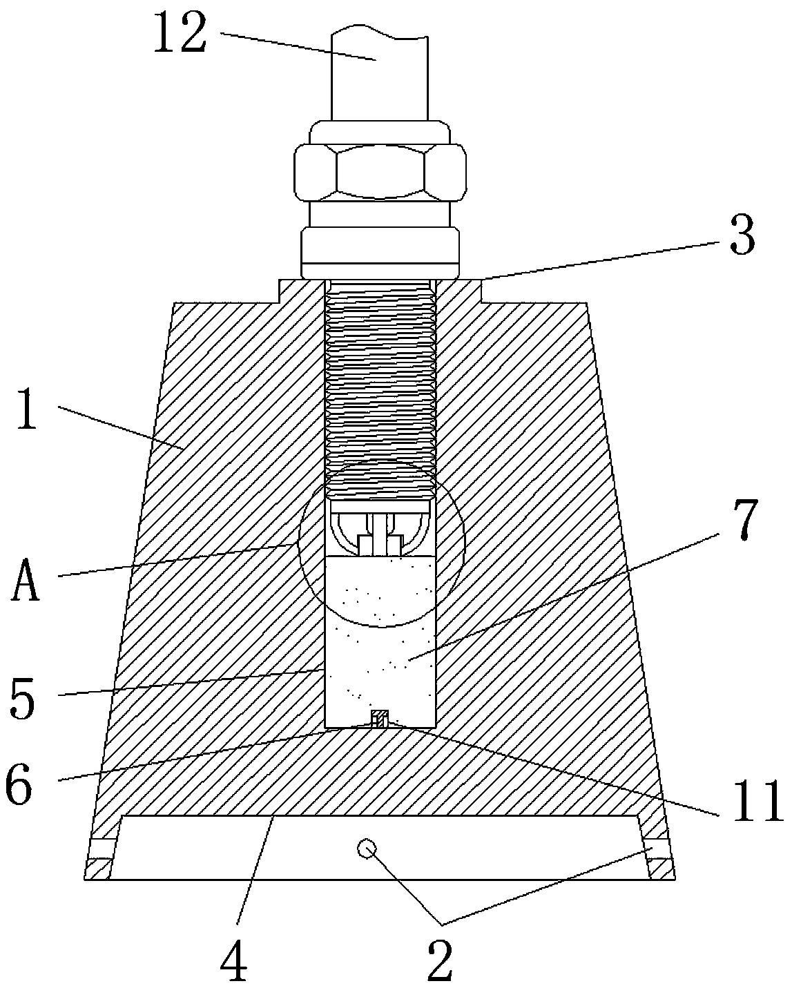
本实用新型公开了一种多侧电极的火花塞中心电极定位工装,包括定位工装主体、螺栓孔、火花塞、中心电极和侧电极,所述定位工装主体的下端面设置有固定槽,且固定槽的侧壁上开设有螺栓孔,并且定位工装主体的顶部设置有第一凸起,同时第一凸起的内部设置有放置槽,所述放置槽的底部设置有限位头,且限位头与固定柱底部的连接槽相连接,并且固定柱的顶部设置有第二凸起,所述第二凸起的外部开设有限位槽,所述火花塞下端中心电极位于固定孔内部,且中心电极外侧的侧电极与限位槽相连接。该多侧电极的火花塞中心电极定位工装,可对多侧电极的火花塞中心电极进行固定,并避免多侧电极的火花塞中心电极在加工时的转动。


