授权公布号:CN114132093B
一种用于火花塞的印花设备
有效
申请
2021-11-22
申请公布
2022-03-04
授权
2022-09-20
预估到期
2041-11-22
| 申请号 | CN202111385886.2 |
| 申请日 | 2021-11-22 |
| 申请公布号 | CN114132093A |
| 申请公布日 | 2022-03-04 |
| 授权公布号 | CN114132093B |
| 授权公告日 | 2022-09-20 |
| 分类号 | B41J3/407 |
| 分类 | 印刷;排版机;打字机;模印机〔4〕; |
| 申请人名称 | 宁波纽时达火花塞股份有限公司 |
| 申请人地址 | 浙江省宁波市慈溪墩工市坎墩街道坎墩工业园区 |
专利法律状态
2022-09-20
授权
状态信息
授权
2022-03-04
公布
状态信息
公布
摘要
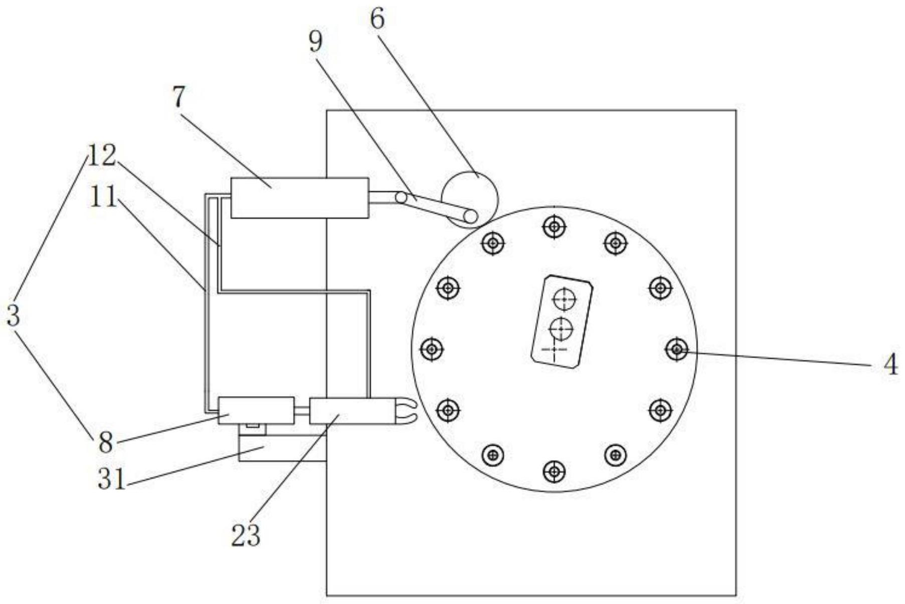
本发明公开了一种用于火花塞的印花设备,包括:转动承座、驱动装置和下料勾机构;所述转动承座上均匀地装有多个顶杆;所述驱动装置传动连接转动承座的中心,用于带动转动承座每次转动预定的角度;所述下料勾机构安装在转动承座一侧,并正对其中一个顶杆;所述下料勾机构用于清除顶杆上残留的火花塞。本发明通过设置下料勾机构,解决了当机械手出现错误遗漏了印花完成的火花塞没被下料,这会导致印花完的火花塞留在转盘上,当该位置再次转动到上料的顶杆处时,顶杆将一个新的火花塞再顶上转盘会导致两个火花塞相撞造成设备的瘫痪的缺陷。


