授权公布号:CN214142242U
一种油茶籽油生产过程碱炼装置
有效
申请
2020-10-22
申请公布
1970-01-01
授权
2021-09-07
预估到期
2030-10-22
| 申请号 | CN202022366578.2 |
| 申请日 | 2020-10-22 |
| 授权公布号 | CN214142242U |
| 授权公告日 | 2021-09-07 |
| 分类号 | C11B3/06;B01F11/00;B01F3/08;B01F15/06 |
| 分类 | 动物或植物油、脂、脂肪物质或蜡;由此制取的脂肪酸;洗涤剂;蜡烛; |
| 申请人名称 | 江西友尼宝农业科技股份有限公司 |
| 申请人地址 | 江西省赣州市信丰县工业园区诚信大道 |
专利法律状态
2021-09-07
授权
状态信息
授权
摘要
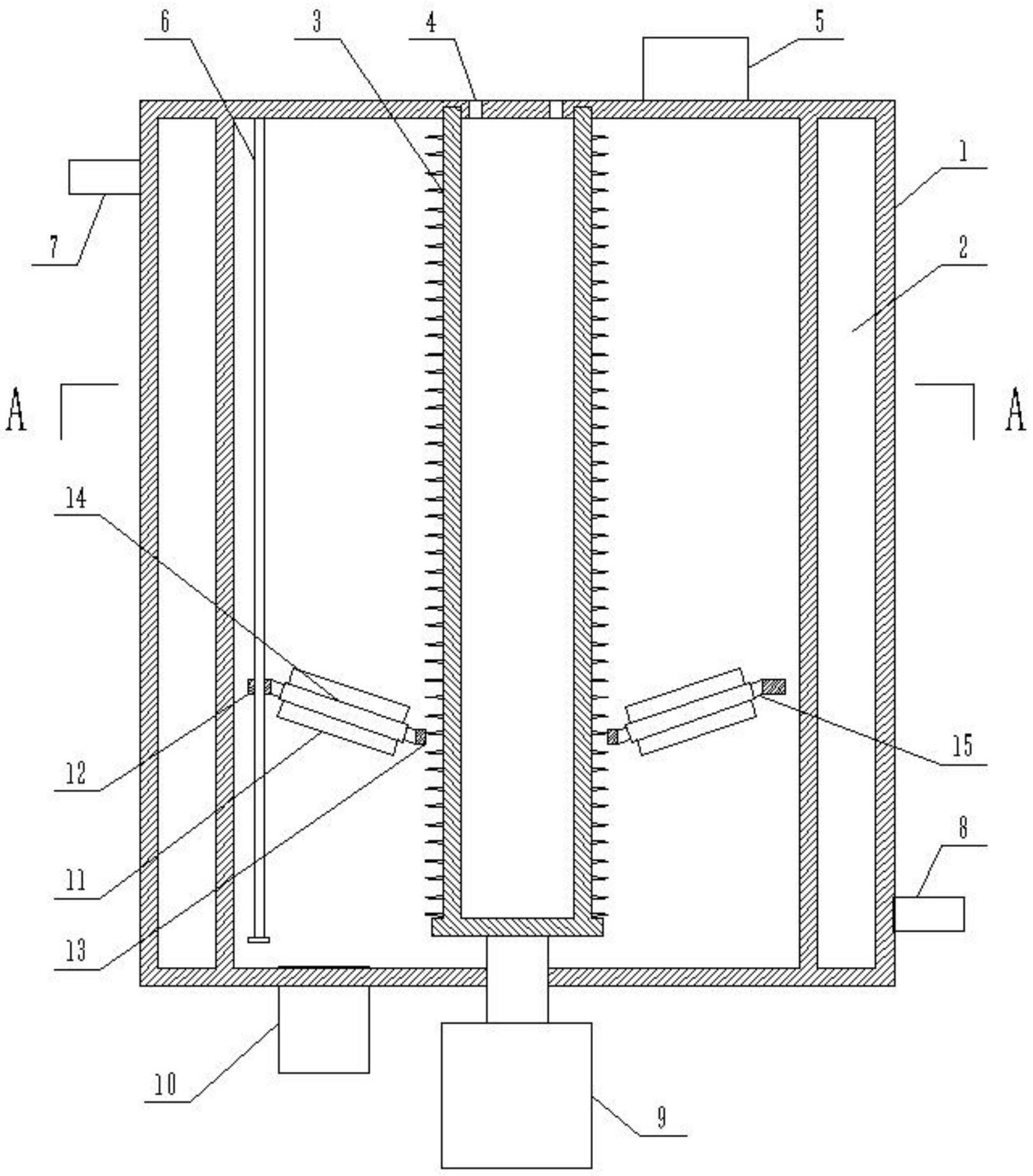
本实用新型涉及茶油加工设备技术领域的一种油茶籽油生产过程碱炼装置,包括装置本体,装置本体的侧壁设有夹层,装置本体的内部设有可转动的加热筒,加热筒与夹层之间形成碱炼腔,碱炼腔内设有搅拌组件;加热筒的外壁上设有外螺纹,加热筒的底部通过转动轴与正反转电机连接;搅拌组件包括内连接环及外连接环,内连接环与加热筒螺纹配合,内连接环与外连接环之间通过多个连接杆固定连接,连接杆上套设可转动的搅拌叶,外连接环上穿设有竖直的导向杆。本实用新型结构简单合理,使用方便,提高了搅拌效果,同时使液体各部位的温度更加均衡,进一步提高了碱炼效果;能源利用率高;碱炼效率高,碱炼质量好,有利于现代化的生产。


