授权公布号:CN218421446U
山茶油循环过滤装置
有效
申请
2022-10-16
申请公布
1970-01-01
授权
2023-02-03
预估到期
2032-10-16
| 申请号 | CN202222760961.5 |
| 申请日 | 2022-10-16 |
| 授权公布号 | CN218421446U |
| 授权公告日 | 2023-02-03 |
| 分类号 | B01D33/11;B01D33/46;B01D36/02;C11B3/00 |
| 分类 | 一般的物理或化学的方法或装置; |
| 申请人名称 | 江西友尼宝农业科技股份有限公司 |
| 申请人地址 | 江西省赣州市信丰县工业园区诚信大道 |
专利法律状态
2023-02-03
授权
状态信息
授权
摘要
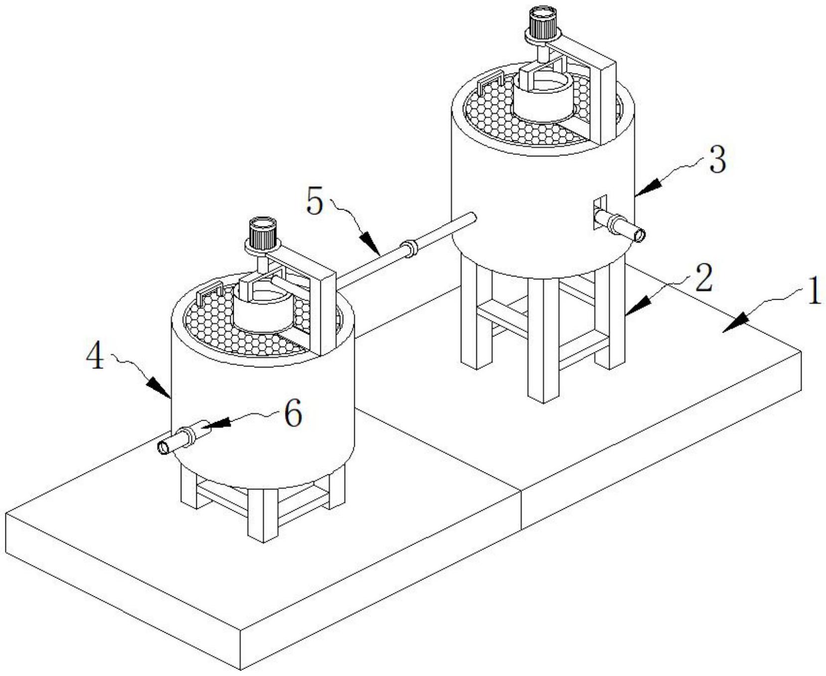
本实用新型提供山茶油循环过滤装置,包括循环过滤装置本体,所述循环过滤装置本体包括底座,所述底座的顶部焊接有支撑架,所述支撑架的顶部分别固定有第一过滤组件和第二过滤组件,所述第一过滤组件和第二过滤组件之间安装有管道,所述管道的一端安装在第二过滤组件的顶部,所述第二过滤组件的一侧安装有排油管,所述第一过滤组件和第二过滤组件均包括桶体。该山茶油循环过滤装置在过滤完成后将锥形座在转动桶的内部上下移动,上下移动对过滤板的内壁剐蹭,将内壁上粘附的杂质向上推动并排放到活动板上进行集中清理使用。


