授权公布号:CN213825333U
一种茶油用磁选装置
有效
申请
2020-10-22
申请公布
1970-01-01
授权
2021-07-30
预估到期
2030-10-22
| 申请号 | CN202022368421.3 |
| 申请日 | 2020-10-22 |
| 授权公布号 | CN213825333U |
| 授权公告日 | 2021-07-30 |
| 分类号 | B03C1/12 |
| 分类 | 用液体或用风力摇床或风力跳汰机分离固体物料;从固体物料或流体中分离固体物料的磁或静电分离;高压电场分离〔5〕; |
| 申请人名称 | 江西友尼宝农业科技股份有限公司 |
| 申请人地址 | 江西省赣州市信丰县工业园区诚信大道 |
专利法律状态
2021-07-30
授权
状态信息
授权
摘要
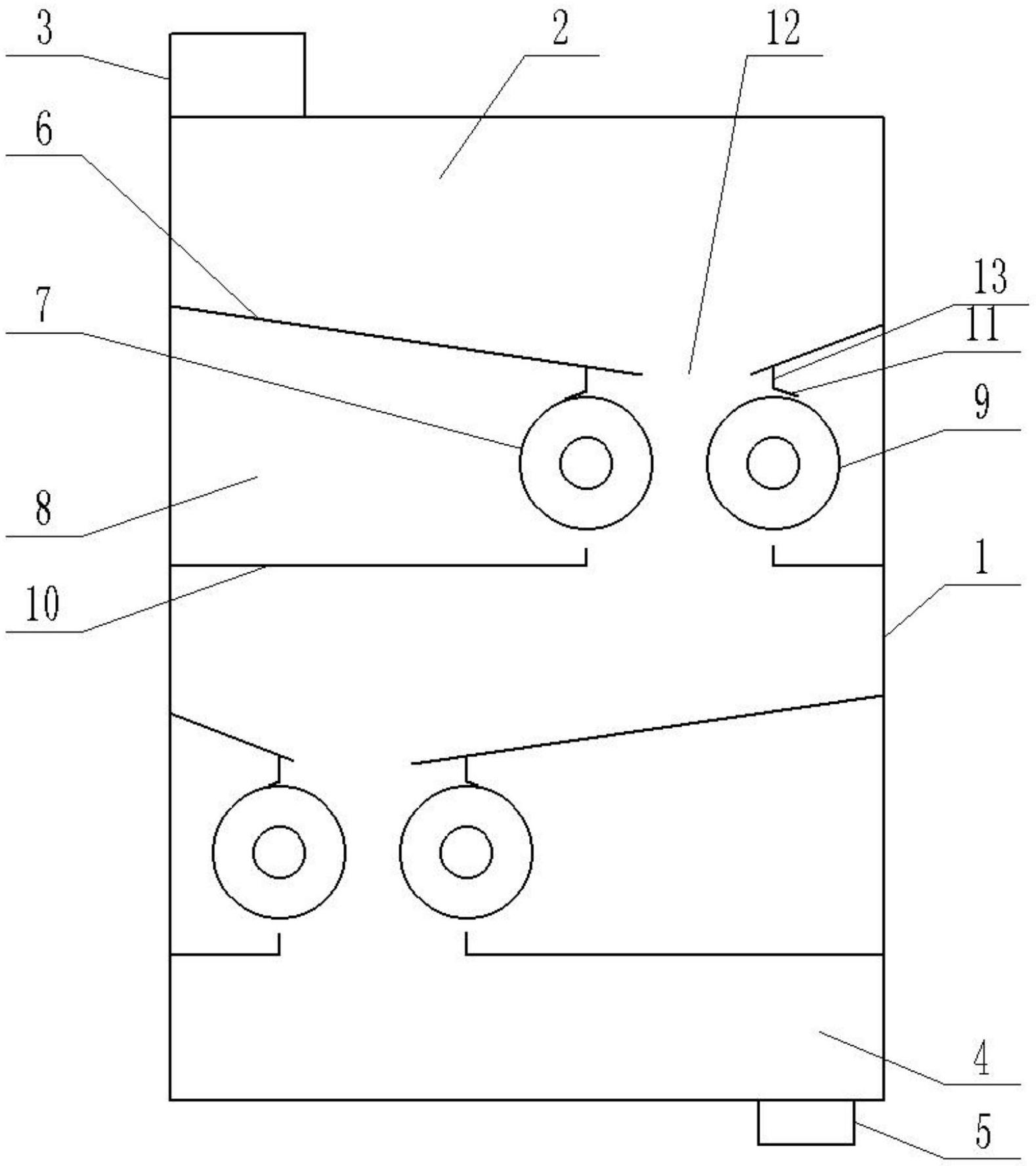
本实用新型涉及茶油加工生产技术领域的一种茶油用磁选装置,包括磁选箱,磁选箱内从上至下依次分为进料腔、磁选腔及出料腔,进料腔与磁选腔的连通口处设有第一磁选组件,磁选腔与出料腔的连通口处设有第二磁选组件;第一磁选组件包括互相配合的第一磁选柱、第二磁选柱,第一磁选柱及第二磁选柱分别连接有转动电机并与磁选箱转动连接,第一磁选柱及第二磁选柱的上方均固定有一个倾斜的导料板,下方设有接料槽,第二磁选组件为与第一磁选组件左右对称的相同结构。本实用新型结构简单合理,操作使用方便,可对茶油籽进行连续的有效的两次磁选操作,磁选效果好,磁选效率高,提高了茶油的质量及加工效率。


