授权公布号:CN109226945B
一种等离子弧切割实验系统
有效
申请
2018-09-27
申请公布
2019-01-18
授权
2023-12-29
预估到期
2038-09-27
| 申请号 | CN201811132334.9 |
| 申请日 | 2018-09-27 |
| 申请公布号 | CN109226945A |
| 申请公布日 | 2019-01-18 |
| 授权公布号 | CN109226945B |
| 授权公告日 | 2023-12-29 |
| 分类号 | B23K10/00 |
| 分类 | 机床;不包含在其他类目中的金属加工; |
| 申请人名称 | 北京市燃气集团有限责任公司 |
| 申请人地址 | 北京市西城区西直门南小街22号 |
专利法律状态
2023-12-29
授权
状态信息
授权
2019-02-19
实质审查的生效
状态信息
实质审查的生效;IPC(主分类):B23K10/00;申请日:20180927
2019-01-18
公布
状态信息
公布
摘要
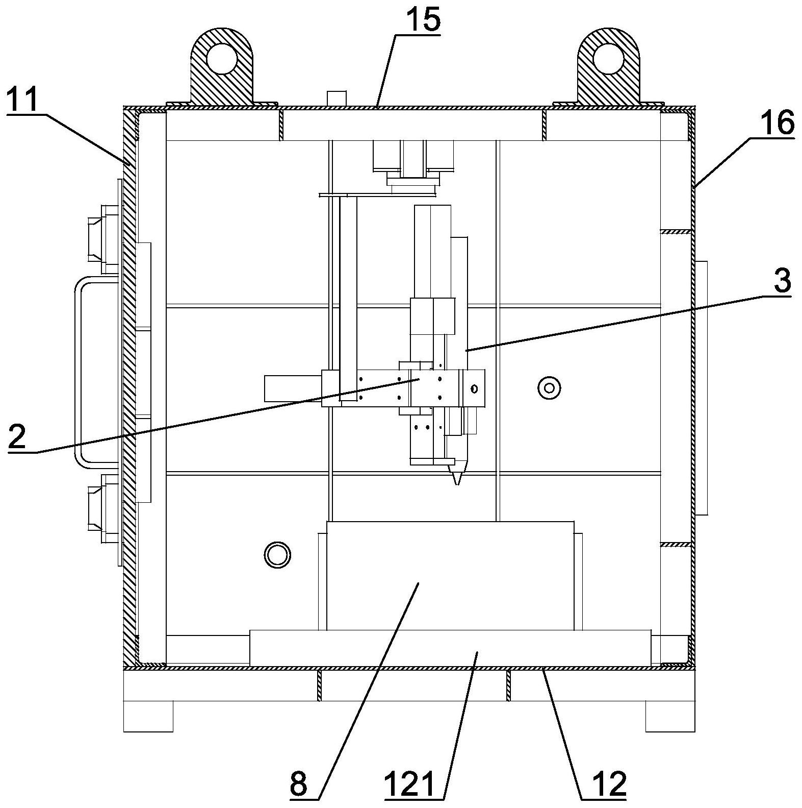
本发明涉及一种等离子弧切割实验系统,包括实验箱、三自由度支架和等离子切割枪,实验箱的侧壁上分别设有第一管箍、第二管箍、第三管箍、第四管箍、第五管箍和第六管箍,第一管箍、第二管箍、第三管箍和第四管箍对应安装有第一电磁气阀、第二电磁气阀、第三电磁气阀和第四电磁气阀,第五管箍和第六管箍对应安装有第一接线端子和第二接线端子;三自由度支架与实验箱的顶壁固定连接,等离子切割枪与三自由度支架固定连接;三自由度支架和等离子切割枪通过供电线缆与第一接线端子连接,三自由度支架通过信号线缆与第二接线端子连接,等离子切割枪通过供气管与第一电磁气阀连接。其具有结构简单、使用方便、安全可靠、操控灵活的优点。


