授权公布号:CN211736118U
一种单元式临空护栏系统
有效
申请
2019-12-31
申请公布
1970-01-01
授权
2020-10-23
预估到期
2029-12-31
| 申请号 | CN201922466333.4 |
| 申请日 | 2019-12-31 |
| 授权公布号 | CN211736118U |
| 授权公告日 | 2020-10-23 |
| 分类号 | E04F11/18 |
| 分类 | 建筑物; |
| 申请人名称 | 中衡设计集团股份有限公司 |
| 申请人地址 | 江苏省苏州市工业园区八达街111号 |
专利法律状态
2020-10-23
授权
状态信息
授权
摘要
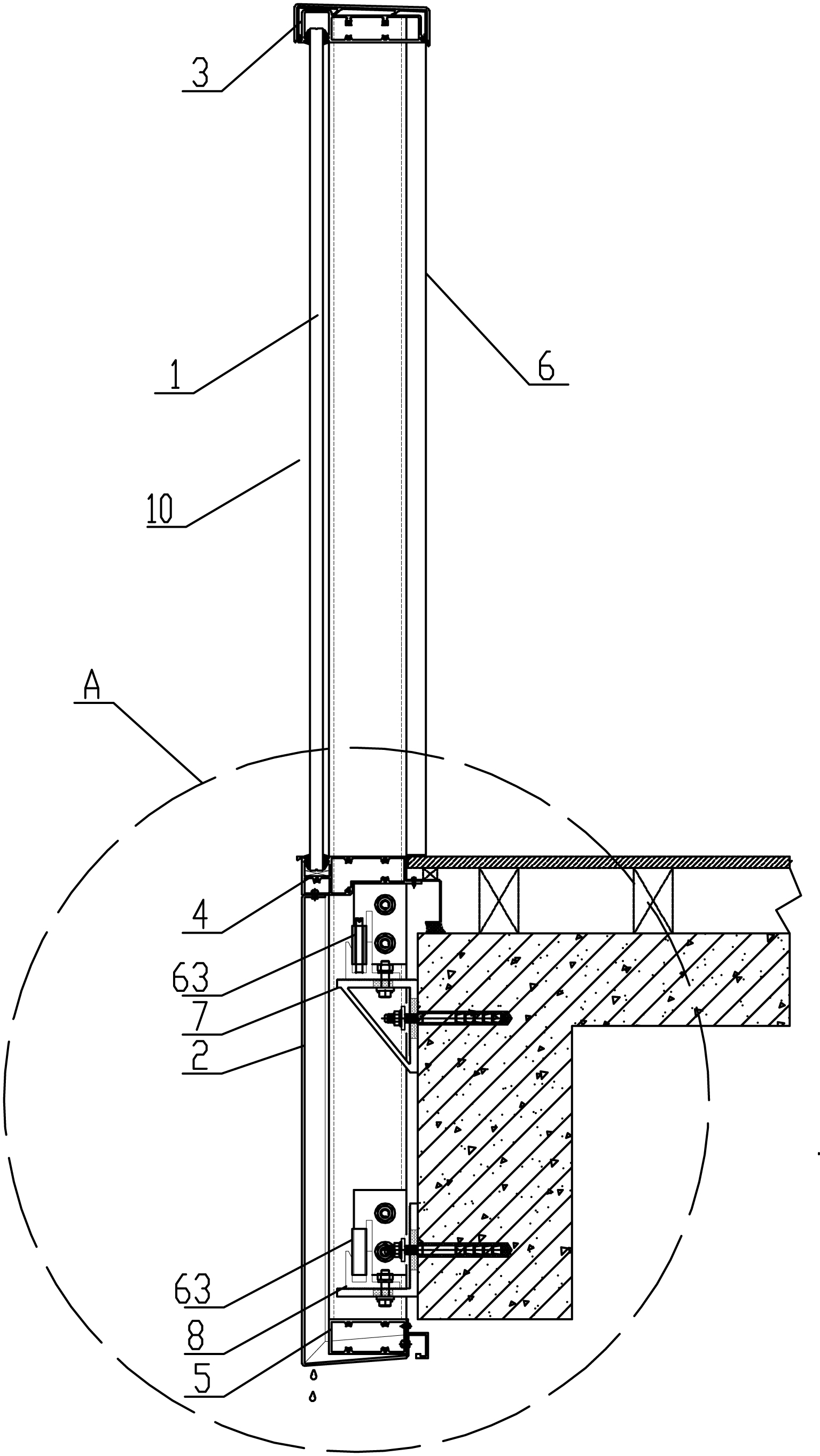
本实用新型提供了一种单元式临空护栏系统,包括固定在露台上的若干个框架,所述框架内固定支撑有若干个护栏板,并通过组合支撑件将所述框架和所述护栏板固定在所述露台上;所述组合支撑件包括连接所述护栏板和所述露台的单元立柱,以及支撑所述护栏板的上挂座和下挂座,所述单元立柱上设置有与所述上挂座或/和下挂座组合支撑的挂件。本实用新型提供了一种便于安装实施、经济效益突出、绿色化的新型装配式系统。


