授权公布号:CN218007406U
一种改进的食用菌栽培瓶
有效
申请
2022-07-28
申请公布
1970-01-01
授权
2022-12-13
预估到期
2032-07-28
| 申请号 | CN202221964490.3 |
| 申请日 | 2022-07-28 |
| 授权公布号 | CN218007406U |
| 授权公告日 | 2022-12-13 |
| 分类号 | A01G18/68 |
| 分类 | 农业;林业;畜牧业;狩猎;诱捕;捕鱼; |
| 申请人名称 | 江苏华绿生物科技股份有限公司 |
| 申请人地址 | 江苏省宿迁市泗阳县绿都大道88号 |
专利法律状态
2022-12-13
授权
状态信息
授权
摘要
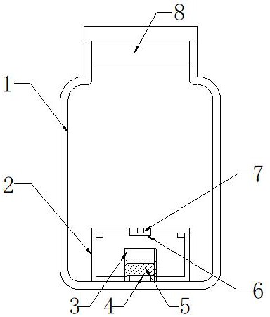
本实用新型公开了一种改进的食用菌栽培瓶,包括:栽培瓶,所述栽培瓶的顶端通过螺纹转动有封塞,且栽培瓶内部底端的中间位置处设置有固定盘,所述固定盘的底端粘贴有耐高温粘胶层,且固定盘的顶端粘贴有螺纹柱,所述栽培瓶内部的底端放置有空心圆柱。本实用新型可通过耐高温粘胶层将螺纹柱粘贴在栽培瓶内部底端的中间位置处,然后转动十字螺丝刀等工具带动空心圆柱转动,配合螺纹柱和内螺纹之间的螺纹将空心圆柱固定安装,此时完成对食用菌工厂瓶子的改造,降低了瓶子的高度和容积,减少了装瓶干物质量,也提高了生物转化率,同时原工厂内的机器设备也可以继续使用,从而解决了由于瓶子栽培料的利用率低且无法进行容积调节的问题。


