授权公布号:CN213045078U
一种可快速形成真空的果蔬浸渍设备
有效
申请
2020-09-08
申请公布
1970-01-01
授权
2021-04-27
预估到期
2030-09-08
| 申请号 | CN202021942090.3 |
| 申请日 | 2020-09-08 |
| 授权公布号 | CN213045078U |
| 授权公告日 | 2021-04-27 |
| 分类号 | A23L5/20;A23L19/00 |
| 分类 | 其他类不包含的食品或食料;及其处理; |
| 申请人名称 | 黄山市徽珍食品有限公司 |
| 申请人地址 | 安徽省黄山市经济开发区芙蓉路3号综合楼 |
专利法律状态
2024-01-16
专利权质押合同登记的生效、变更及注销
状态信息
专利权质押合同登记的注销;IPC(主分类):A23L5/20;授权公告日:20210427;申请日:20200908;专利号:ZL2020219420903;登记号:Y2022980022997;出质人:黄山市徽珍食品有限公司;质权人:黄山屯溪农村商业银行股份有限公司;解除日:20231228
2022-12-09
专利权质押合同登记的生效、变更及注销
状态信息
专利权质押合同登记的生效;IPC(主分类):A23L5/20;登记号:Y2022980022997;登记生效日:20221123;出质人:黄山市徽珍食品有限公司;质权人:黄山屯溪农村商业银行股份有限公司;实用新型名称:一种可快速形成真空的果蔬浸渍设备;申请日:20200908;授权公告日:20210427
2021-04-27
授权
状态信息
授权
摘要
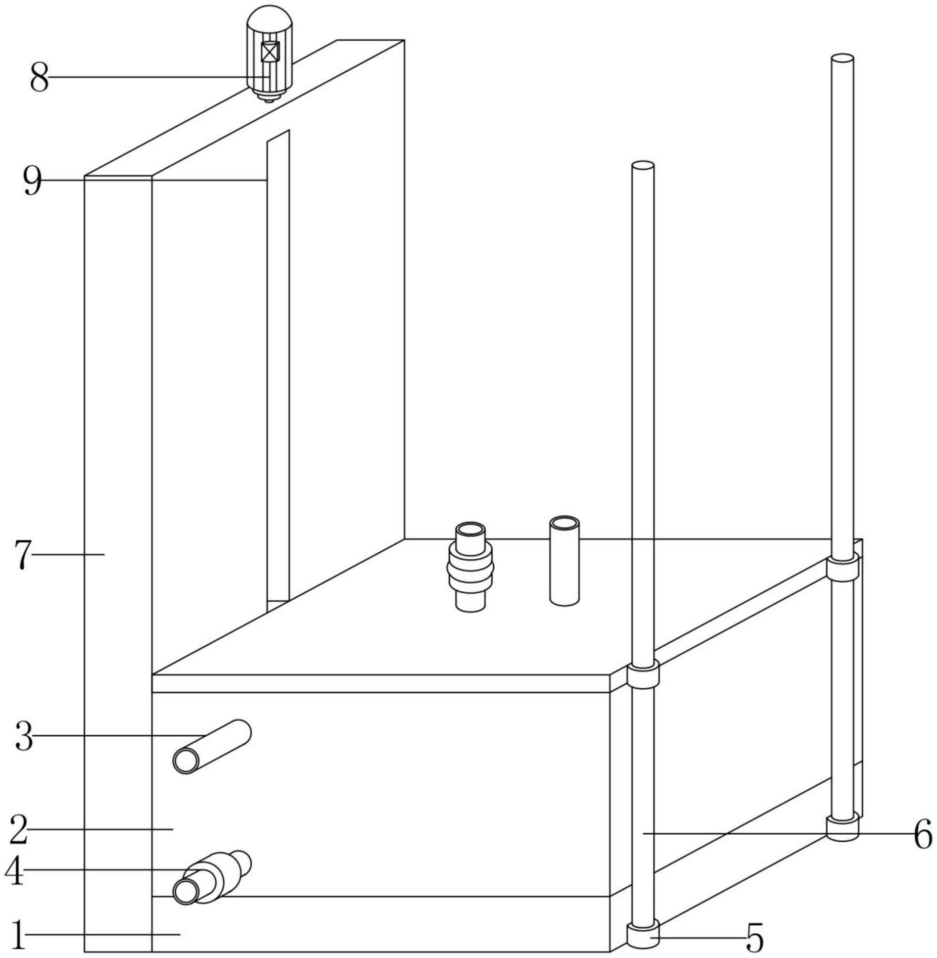
本实用新型公开了一种可快速形成真空的果蔬浸渍设备,包括底座,所述底座的上端固定有浸泡仓,所述浸泡仓的外侧设置有进水口,所述浸泡仓的外侧设置有排水口,所述底座的外侧固定有托板,所述托板对称设置有两个,所述托板的上端固定有滑动杆,所述底座的外侧固定有第一竖板,所述第一竖板的上端设置有电机,所述第一竖板的外侧开设有第一滑槽。该可快速形成真空的果蔬浸渍设备,通过第一套环带动连接杆沿着第一滑槽向下移动,连接杆带动滑动盖板向下移动,滑动盖板底端的密封条与浸泡仓闭合,通过密封条提高密封性,启动真空抽取管对浸泡仓内部进行真空抽取,使浸泡仓内部为真空状态,提高浸泡效率,实现了对果蔬更为高效的浸渍处理。


