授权公布号:CN111449258B
一种食用菌菇生产用换热设备
有效
申请
2020-03-16
申请公布
2020-07-28
授权
2023-04-11
预估到期
2040-03-16
| 申请号 | CN202010181646.X |
| 申请日 | 2020-03-16 |
| 申请公布号 | CN111449258A |
| 申请公布日 | 2020-07-28 |
| 授权公布号 | CN111449258B |
| 授权公告日 | 2023-04-11 |
| 分类号 | A23N12/08;A23N12/12;F26B17/12;F26B21/00;F26B21/04;F26B25/08;F28D7/00;B07B1/28 |
| 分类 | 其他类不包含的食品或食料;及其处理; |
| 申请人名称 | 黄山市徽珍食品有限公司 |
| 申请人地址 | 安徽省黄山市市辖区黄山经济开发区芙蓉路3号综合楼 |
专利法律状态
2023-04-11
授权
状态信息
授权
2020-07-28
公布
状态信息
公布
摘要
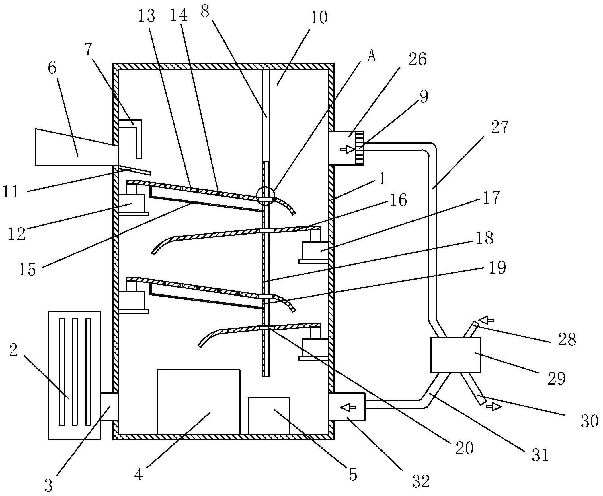
本发明涉及菌菇加工装置,尤其是涉及一种食用菌菇生产用换热设备。一种食用菌菇生产用换热设备,包括热风机、换热器和具有烘干腔的箱体,热风机通过热风管连接在箱体上,箱体的上方设置有湿热风口,箱体的下方设置有干热风口,湿热风口通过湿热风管连接在换热器上,干热风口通过干热风管连接在换热器上。本发明能够同时对食用菌菇进行烘干和除杂工序,从而能够提高生产加工效率,从而能够降低生产成本,并且能够对排出的湿热风加以利用,从而节约能源。


