授权公布号:CN111449260B
一种菌菇灭菌干燥设备
有效
申请
2020-03-16
申请公布
2020-07-28
授权
2022-03-25
预估到期
2040-03-16
| 申请号 | CN202010182072.8 |
| 申请日 | 2020-03-16 |
| 申请公布号 | CN111449260A |
| 申请公布日 | 2020-07-28 |
| 授权公布号 | CN111449260B |
| 授权公告日 | 2022-03-25 |
| 分类号 | A23N12/08;A23L5/20 |
| 分类 | 其他类不包含的食品或食料;及其处理; |
| 申请人名称 | 黄山市徽珍食品有限公司 |
| 申请人地址 | 安徽省黄山市市辖区黄山经济开发区芙蓉路3号综合楼 |
专利法律状态
2024-01-16
专利权质押合同登记的生效、变更及注销
状态信息
专利权质押合同登记的注销;IPC(主分类):A23N 12/08;授权公告日:20220325;申请日:20200316;专利号:ZL2020101820728;登记号:Y2022980022997;出质人:黄山市徽珍食品有限公司;质权人:黄山屯溪农村商业银行股份有限公司;解除日:20231228
2022-12-09
专利权质押合同登记的生效、变更及注销
状态信息
专利权质押合同登记的生效;IPC(主分类):A23N12/08;登记号:Y2022980022997;登记生效日:20221123;出质人:黄山市徽珍食品有限公司;质权人:黄山屯溪农村商业银行股份有限公司;发明名称:一种菌菇灭菌干燥设备;申请日:20200316;授权公告日:20220325
2022-03-25
授权
状态信息
授权
2020-08-21
实质审查的生效
状态信息
实质审查的生效;IPC(主分类):A23N12/08;申请日:20200316
2020-07-28
公布
状态信息
公布
摘要
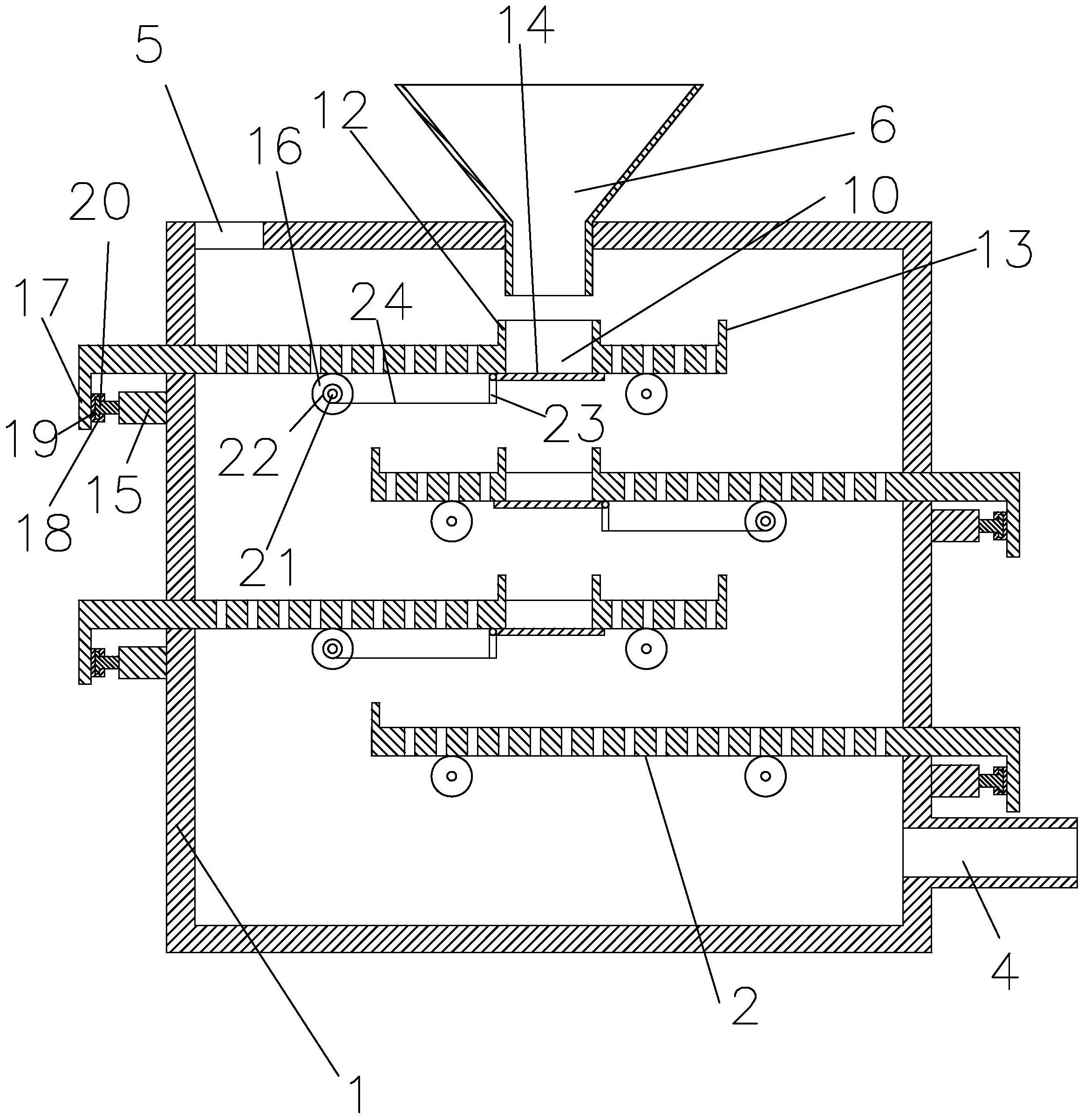
本发明公开了一种菌菇灭菌干燥设备,涉及菌菇加工设备技术领域;包括壳体、隔板、进风口、出风口、进料口、重量感应器、振动机构,隔板分为左隔板和右隔板,左隔板和右隔板间隔布置从而使得壳体内部形成蛇形的气道,除最底下的隔板之外,其他的隔板上均设有过孔,过孔位于进料口的正下方,过孔边缘设有用于防止菌菇滚落对应隔板的翻边,隔板边缘设有用于防止菌菇滚落对应隔板的第二翻边,过孔下侧盖设有挡板,挡板一端铰接在隔板上,壳体内设有用于转动挡板的转动机构。通过挡板和过孔,将菌菇摊铺在每一层隔板上,利用重量感应器,保证每一块隔板上都只有一层菌菇,防止菌菇堆叠,蛇形的气道保证热风能对每一层隔板进行干燥。


