授权公布号:CN218018927U
一种家具生产用海绵开孔设备
有效
申请
2022-05-17
申请公布
1970-01-01
授权
2022-12-13
预估到期
2032-05-17
| 申请号 | CN202221194005.9 |
| 申请日 | 2022-05-17 |
| 授权公布号 | CN218018927U |
| 授权公告日 | 2022-12-13 |
| 分类号 | B26F1/16;B26D7/02 |
| 分类 | 手动切割工具;切割;切断; |
| 申请人名称 | 广东华尚实业有限公司 |
| 申请人地址 | 广东省广州市增城新塘镇简村华尚工业园内 |
专利法律状态
2022-12-13
授权
状态信息
授权
摘要
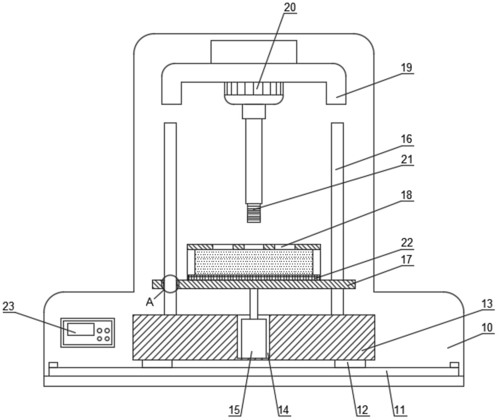
本实用新型公开了一种家具生产用海绵开孔设备,包括工作台,工作台上端面固定安装有电动滑轨,电动滑轨上设置有适配的滑块,滑块上端面固定安装有底座,底座上端面开设有安装槽,安装槽内固定安装有气缸,底座上端面两侧固定连接有限位杆,两个限位杆外侧滑动套接有夹持框,用于夹持海绵块。本实用新型中,通过夹持框和限位杆之间配合,使得夹持框能够平稳的向上移动,限位杆为夹持框的运动轨道,用来保证夹持框在规定的空间内运动,避免海绵移动时发生偏移造成开孔不规则的现象发生,通过启动驱动电机,使得打孔钻头进行旋转,然后通过气缸推动夹持框上移,使得打孔钻头穿过穿孔与海绵块接触,实现打孔操作。


