授权公布号:CN218353722U
一种便于调节的种植架
有效
申请
2022-10-30
申请公布
1970-01-01
授权
2023-01-24
预估到期
2032-10-30
| 申请号 | CN202222866487.4 |
| 申请日 | 2022-10-30 |
| 授权公布号 | CN218353722U |
| 授权公告日 | 2023-01-24 |
| 分类号 | A01G18/62;A01G18/69 |
| 分类 | 农业;林业;畜牧业;狩猎;诱捕;捕鱼; |
| 申请人名称 | 金寨金芝源生物工程有限公司 |
| 申请人地址 | 安徽省六安市金寨现代产业园区金梧桐创业园标准化厂房A-2第二层 |
专利法律状态
2023-01-24
授权
状态信息
授权
摘要
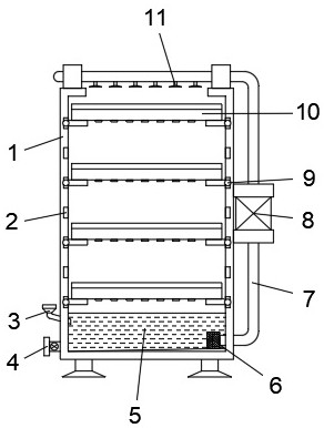
本实用新型公开了一种便于调节的种植架,包括种植架,所述种植架的内部两侧均开设有若干凹槽,所述凹槽的前侧均开设有螺纹孔,所述凹槽的内部插接有支撑板,所述螺纹孔和支撑板之间螺纹连接有螺栓,所述支撑板的上方贴合有种植槽板;所述种植槽板的内部设置有若干种植土层,所述种植土层之间开设有渗透管,所述渗透管的顶端固定连接有三角滤网。通过上述结构,设置有种植土层、支撑板和种植槽板,通过将药材种植在种植土层的内部,并根据种植过程中植物较为娇小进行增加支撑板,达到增多层植作用,随后根据生长的速度适当取出以及调节种植槽板之间间距,达到便于生长高度控制,从而实现根据所需自由调节操作,使用方便。


