授权公布号:CN213924693U
一种灵芝孢子油二氧化碳萃取生产装置
有效
申请
2020-11-14
申请公布
1970-01-01
授权
2021-08-10
预估到期
2030-11-14
| 申请号 | CN202022630579.3 |
| 申请日 | 2020-11-14 |
| 授权公布号 | CN213924693U |
| 授权公告日 | 2021-08-10 |
| 分类号 | C11B1/10 |
| 分类 | 动物或植物油、脂、脂肪物质或蜡;由此制取的脂肪酸;洗涤剂;蜡烛; |
| 申请人名称 | 广州宝兴生物科技有限公司 |
| 申请人地址 | 广东省广州市高新技术产业开发区科学城神舟路8号怡华大厦1-4楼 |
专利法律状态
2021-08-10
授权
状态信息
授权
摘要
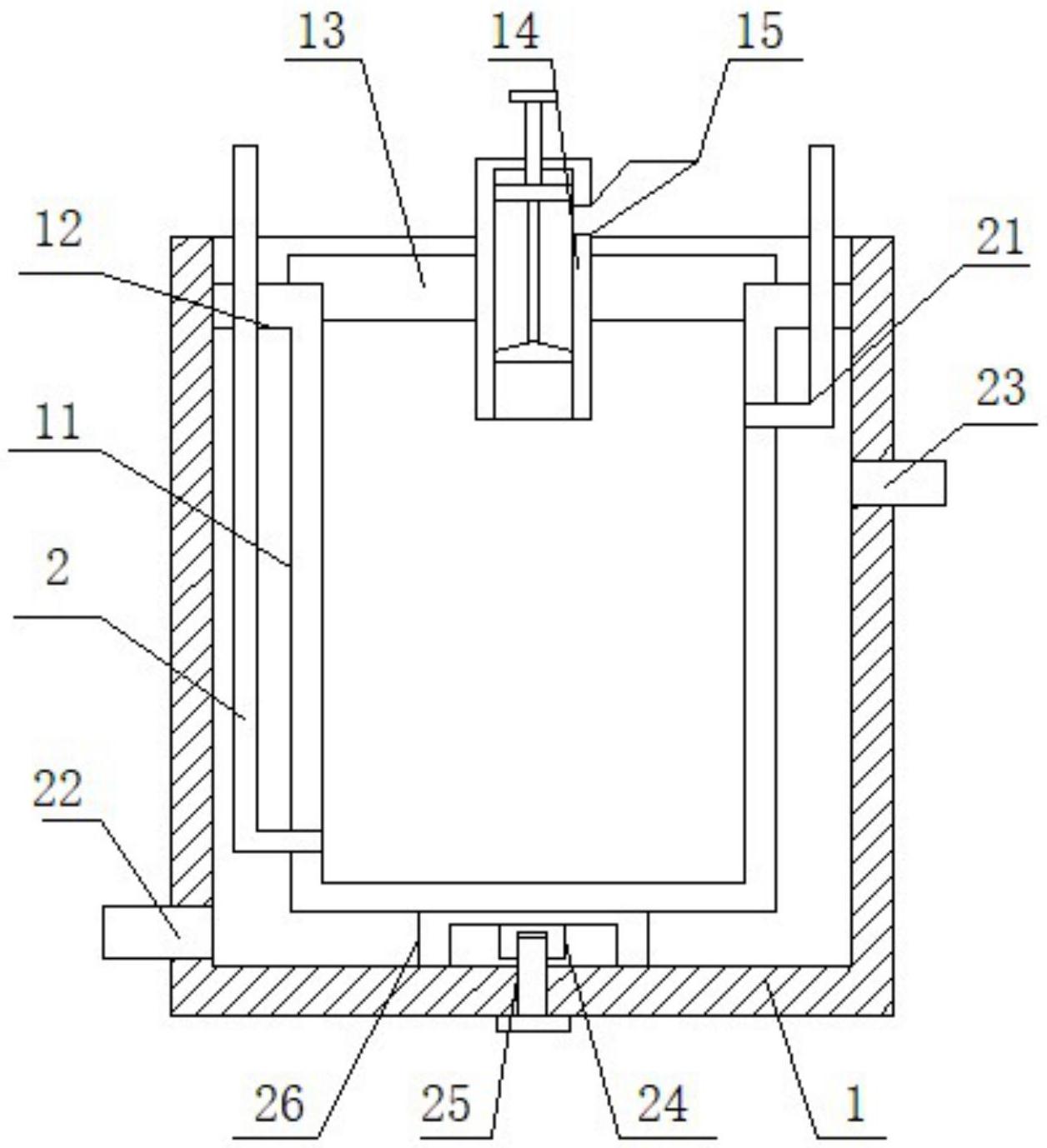
本实用新型公开了一种灵芝孢子油二氧化碳萃取生产装置,包括外箱体,所述外箱体的侧面滑动安装有萃取筒,所述萃取筒的一端设有连接环,所述连接环的表面滑动安装于外箱体的一端侧面,所述萃取筒的开口处螺纹安装有盖板,所述盖板的一端表面固定连接有加料筒,所述加料筒的一端表面固定连接有料斗,所述加料筒的一端螺纹安装有调节螺钉,所述调节螺钉的一端转动连接有平面密封板,所述平面密封板的另一侧表面固定连接有中间杆,所述中间杆位于加料筒的中心位置,所述中间杆的另一端固定连接有锥形密封板,所述平面密封板和锥形密封板的表面均滑动连接于加料筒的侧面.这样能够大大提高使用的便利性和稳定性,保证萃取的安全高效性。


