授权公布号:CN218353200U
一种施肥装置
有效
申请
2022-11-01
申请公布
1970-01-01
授权
2023-01-24
预估到期
2032-11-01
| 申请号 | CN202222898977.2 |
| 申请日 | 2022-11-01 |
| 授权公布号 | CN218353200U |
| 授权公告日 | 2023-01-24 |
| 分类号 | A01C15/12;A01C15/00;A01C5/06 |
| 分类 | 农业;林业;畜牧业;狩猎;诱捕;捕鱼; |
| 申请人名称 | 儋州牧春绿色生态农业开发有限公司 |
| 申请人地址 | 海南省儋州市南辰农场八队 |
专利法律状态
2023-01-24
授权
状态信息
授权
摘要
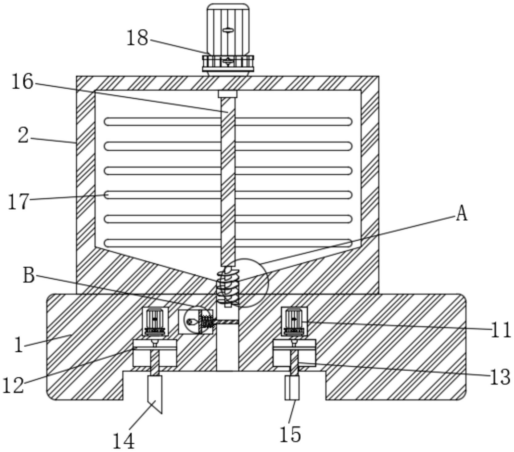
本实用新型公开了一种施肥装置,涉及施肥装置技术领域,包括底座,所述底座的顶部设置有箱体,所述箱体的一侧和内部分别设置有注料管和空腔,所述底座和箱体内分别设置有滑口和出料口,所述底座内滑动设置有滑件,所述滑件的一侧设置有弹簧,所述弹簧的另一侧与滑口相抵,所述弹簧上套接有封堵板,所述底座内转动连接有转轴,所述转轴上固定套接有凸轮,且所述凸轮与滑件相抵。本实用新型中,解决了现有的施肥装置因大多无法控制施肥速率,导致容易出现施肥过量或者量不够的问题,同时解决了现有的施肥装置因大多不具备搅拌的功能,导致肥料容易粘连堵塞的问题。


