授权公布号:CN208312977U
一种用于茶油生产的烘干箱
有效
申请
2018-04-04
申请公布
1970-01-01
授权
2019-01-01
预估到期
2028-04-04
| 申请号 | CN201820474407.1 |
| 申请日 | 2018-04-04 |
| 授权公布号 | CN208312977U |
| 授权公告日 | 2019-01-01 |
| 分类号 | F26B17/04;F26B21/00;F26B25/00;C11B1/04 |
| 分类 | 干燥; |
| 申请人名称 | 靖州县金茶油科技开发有限责任公司 |
| 申请人地址 | 湖南省怀化市靖州县飞山管委会塘湖村 |
专利法律状态
2019-01-01
授权
状态信息
授权
摘要
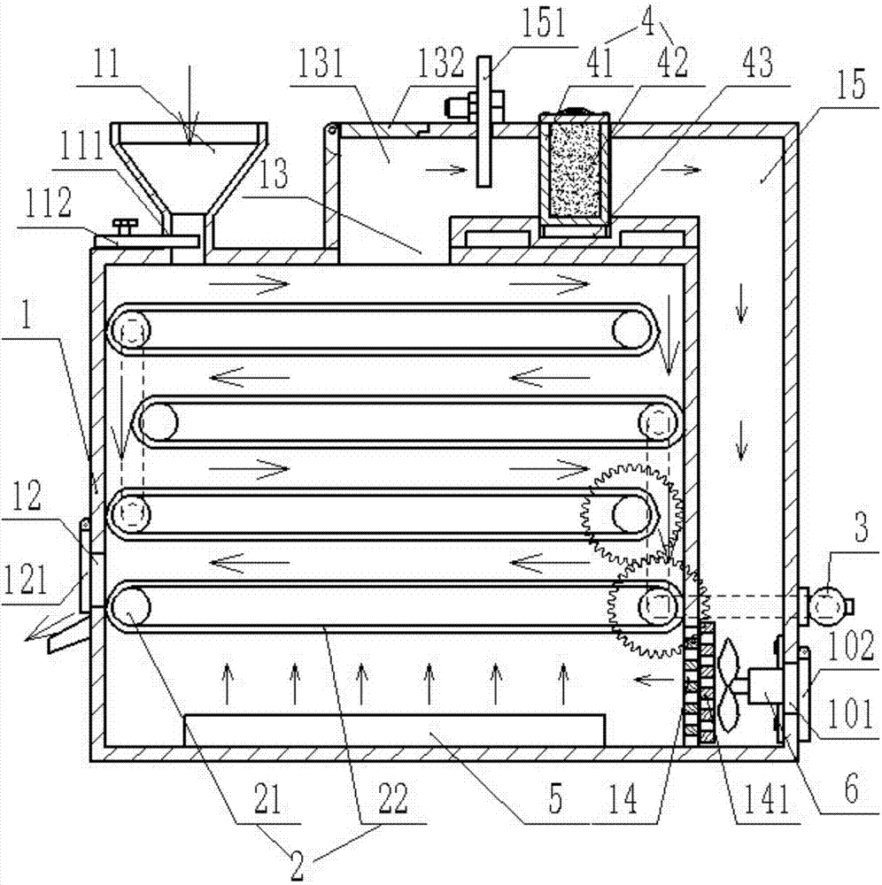
本实用新型公布了一种用于茶油生产的烘干箱,包括壳体,壳体内设有多个摊料装置,摊料装置包括送料辊和摊料带,送料辊相对设置对壳体内侧,且与摊料带传动连接,摊料装置之间通过送料辊传动连接,相邻两摊料装置运动方向相反,送料辊与设置在壳体上的电机传动连接;壳体上方设有上料斗,侧面设有出料口;壳体上方设有出风口,下方设有进风口,侧面设有连接出风口与进风口的回风腔,回风腔内设有除湿装置,除湿装置包括料箱和干燥剂,壳体底部设有加热板,进风口处设有风机。本实用新型的目的是,提供一种用于茶油生产的烘干箱,该烘干箱能实现茶油籽的连续烘干处理,除湿装置能对烘箱内的循环热风进行除湿处理,提高了其干燥处理的效率。


