授权公布号:CN219264360U
一种燃气轮机用具有降温结构的燃料喷嘴
有效
申请
2022-10-26
申请公布
1970-01-01
授权
2023-06-27
预估到期
2032-10-26
| 申请号 | CN202222832594.5 |
| 申请日 | 2022-10-26 |
| 授权公布号 | CN219264360U |
| 授权公告日 | 2023-06-27 |
| 分类号 | F23R3/28 |
| 分类 | 燃烧设备;燃烧方法; |
| 申请人名称 | 深圳市燃气集团股份有限公司 |
| 申请人地址 | 广东省深圳市福田区梅坳一路268号 |
专利法律状态
2023-06-27
授权
状态信息
授权
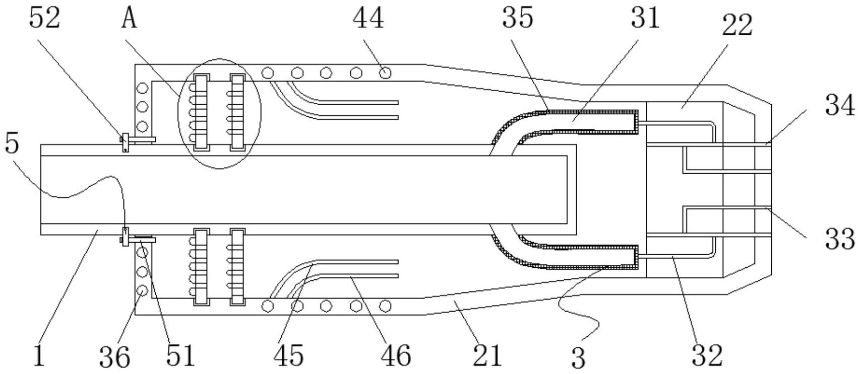
摘要
本实用新型提供了一种燃气轮机用具有降温结构的燃料喷嘴,包括:中心体和降温结构,所述套罩设置于所述中心体外部,所述套罩内部固定连接有固定板,所述降温结构包括第一燃料输送通道,所述第一燃料输送通道固定连接在中心体侧壁,所述第一燃料输送通道远离中心体的一端固定连接有第二燃料输送通道,且第二燃料输送通道套设在固定板内部,所述第二燃料输送通道远离第一燃料输送通道的一端固定连接在喷出口内部。本实用新型实现燃料喷嘴在使用过程中内部可以进行吸热降温,避免燃料喷嘴内部温度过高出现危险,且该燃料喷嘴中心体可以便捷拆除进行检修,提高了装置的实用性和便捷性。


