授权公布号:CN218924036U
一种泄压装置及滤油器
有效
申请
2022-11-28
申请公布
1970-01-01
授权
2023-04-28
预估到期
2032-11-28
| 申请号 | CN202223204987.8 |
| 申请日 | 2022-11-28 |
| 授权公布号 | CN218924036U |
| 授权公告日 | 2023-04-28 |
| 分类号 | B01D35/14 |
| 分类 | 一般的物理或化学的方法或装置; |
| 申请人名称 | 深圳市燃气集团股份有限公司 |
| 申请人地址 | 广东省深圳市福田区梅坳一路268号 |
专利法律状态
2023-04-28
授权
状态信息
授权
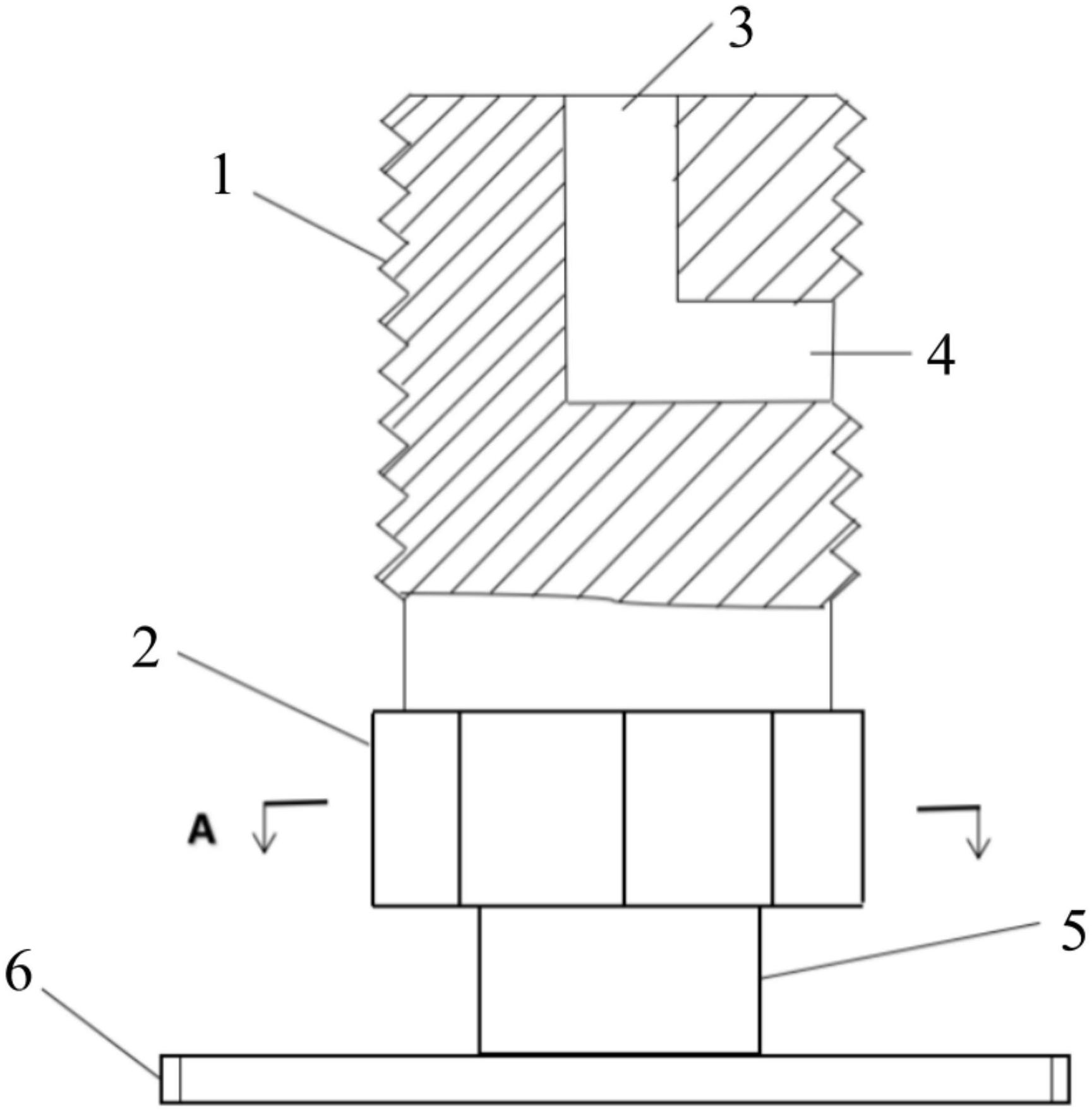
摘要
本实用新型涉及泄压装置技术领域,具体涉及一种泄压装置及滤油器,包括:在螺柱上的端面上设置第一泄油孔,在螺柱的侧面上设置第二泄压孔,第一泄压孔与第二泄压孔连通;将本申请的泄压装置安装在滤油器上,当滤油器需要放油时,则拧动泄压装置,使第二泄油孔漏出与外界接触即可。此时,滤油器内的油则会经过第一泄油孔及第二泄油孔流出滤油器。本申请的泄压装置仅需将泄压装置拧动至使第二泄油孔漏出与外界接触即可,泄压装置依旧与滤油器保持紧固的连接关系,从而避免了在泄压过程中,泄压装置拧松不够导致滤油器内的油流不出来的情况,或螺栓拧的过送导致出现脱落的问题。


