授权公布号:CN218865528U
一种制冷系统性能检测机构
有效
申请
2022-12-05
申请公布
1970-01-01
授权
2023-04-14
预估到期
2032-12-05
| 申请号 | CN202223265812.8 |
| 申请日 | 2022-12-05 |
| 授权公布号 | CN218865528U |
| 授权公告日 | 2023-04-14 |
| 分类号 | G01M99/00 |
| 分类 | 测量;测试; |
| 申请人名称 | 深圳市燃气集团股份有限公司 |
| 申请人地址 | 广东省深圳市福田区梅坳一路268号 |
专利法律状态
2023-04-14
授权
状态信息
授权
摘要
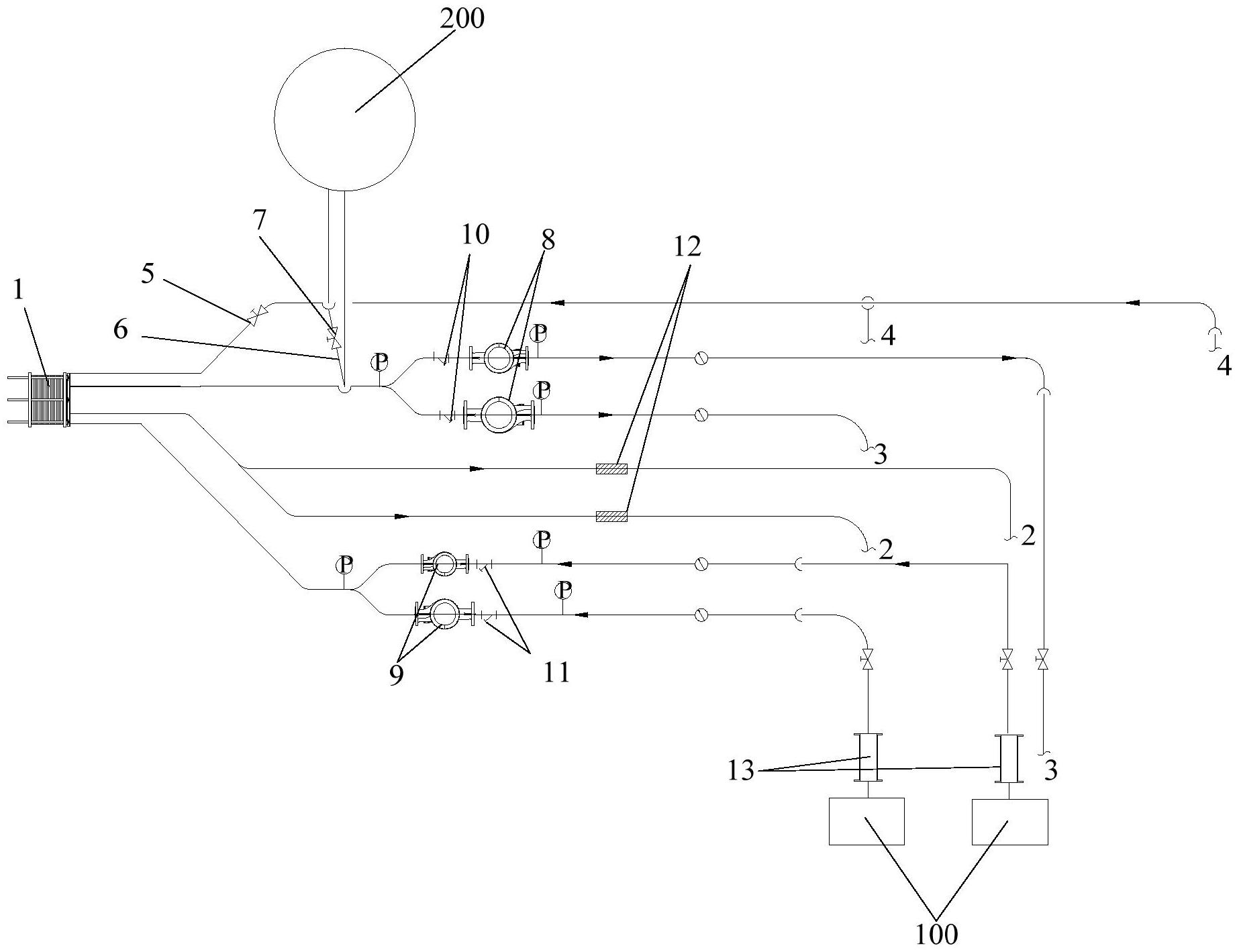
本申请公开一种制冷系统性能检测机构,其包括:换热器,其冷介质入口用于与制冷机的冷冻水出口连接,其冷介质出口用于与制冷机的冷冻水入口连接;所述换热器的热介质入口用于与制冷机的冷却水出口连接;所述换热器的热介质出口用于与制冷机的冷却水入口连接,从而与制冷机之间形成冷冻水循环流路,模拟用户端消耗冷负荷,以鉴定制冷系统的质量和性能;同时,所述换热器可以替冷却水塔分流冷却水,并起到与冷却水塔相同的作用,从而减少冷却水塔的负荷,降低冷却水塔的能耗。


