授权公布号:CN218501589U
一种便于更换滤芯的过滤器
有效
申请
2022-08-29
申请公布
1970-01-01
授权
2023-02-21
预估到期
2032-08-29
| 申请号 | CN202222289573.3 |
| 申请日 | 2022-08-29 |
| 授权公布号 | CN218501589U |
| 授权公告日 | 2023-02-21 |
| 分类号 | B01D46/88;B01D29/96 |
| 分类 | 一般的物理或化学的方法或装置; |
| 申请人名称 | 深圳市燃气集团股份有限公司 |
| 申请人地址 | 广东省深圳市福田区梅坳一路268号 |
专利法律状态
2023-02-21
授权
状态信息
授权
摘要
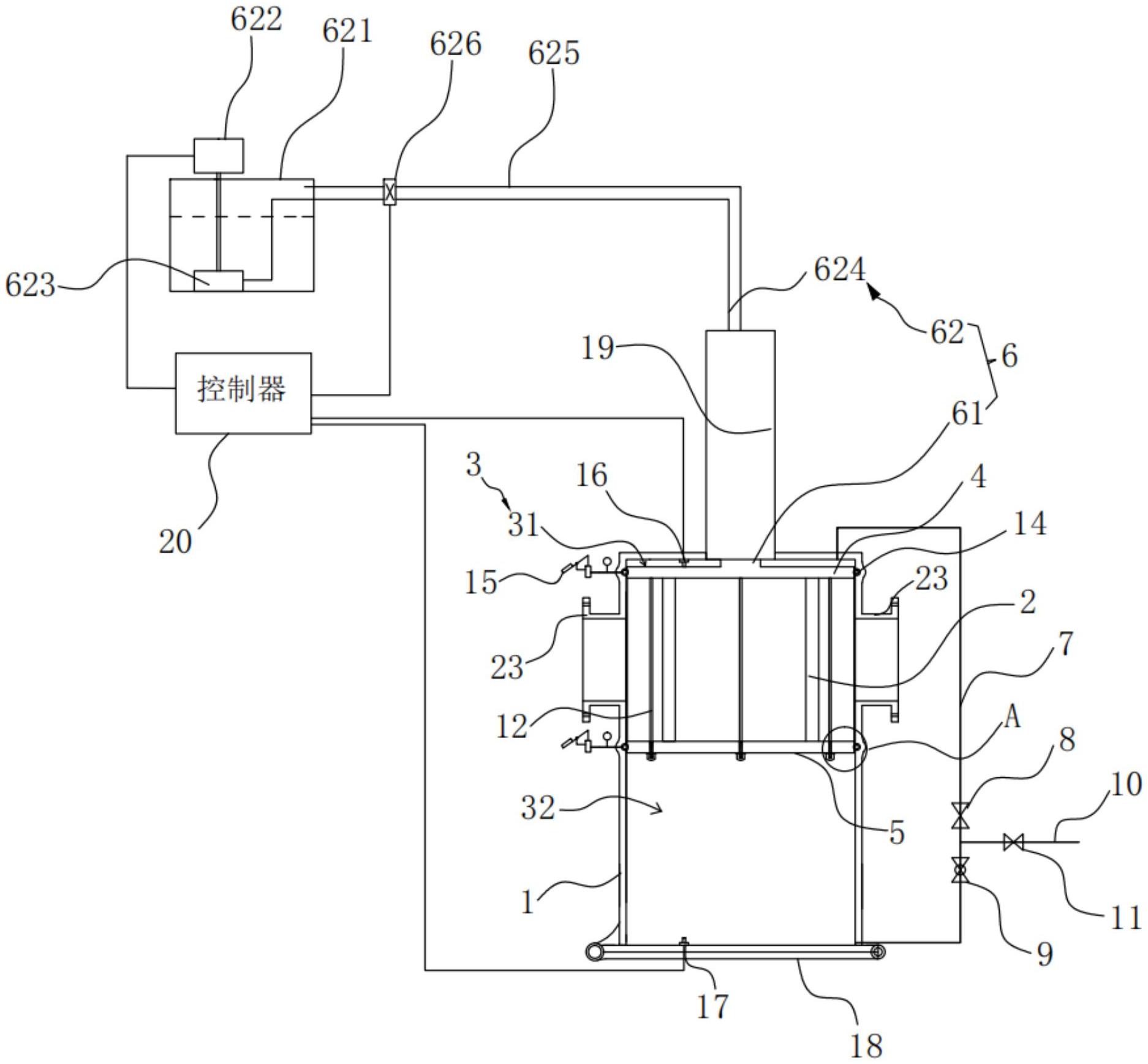
本申请涉及过滤器技术领域,公开了一种便于更换滤芯的过滤器,其包括设置于流路上的壳体和设置于所述壳体的内腔中的滤芯,所述过滤器还包括:第一密封件,连接于所述滤芯的一侧,并滑动设置于所述内腔中;第二密封件,连接于所述滤芯的另一侧,并滑动设置于所述内腔中;以及驱动机构,连接于所述第一密封件背向所述滤芯的一侧;其中,所述内腔具有第一位置和第二位置,所述驱动机构用于驱动所述滤芯由所述第一位置滑移至所述第二位置而对所述滤芯进行更换。本申请中所述驱动机构能够驱动所述滤芯由所述第一位置移动至所述第二位置,并在所述第二位置对滤芯进行更换,在更换所述滤芯时无需关断设备使流体停止输送,从而避免了对生产造成损失。


