授权公布号:CN216473840U
钢丝开袋模板
有效
申请
2021-09-24
申请公布
1970-01-01
授权
2022-05-10
预估到期
2031-09-24
| 申请号 | CN202122316258.0 |
| 申请日 | 2021-09-24 |
| 授权公布号 | CN216473840U |
| 授权公告日 | 2022-05-10 |
| 分类号 | D05B35/06 |
| 分类 | 缝纫;绣花;簇绒; |
| 申请人名称 | 常州华利达服装集团有限公司 |
| 申请人地址 | 江苏省常州市天宁区中吴大道599号 |
专利法律状态
2022-05-10
授权
状态信息
授权
摘要
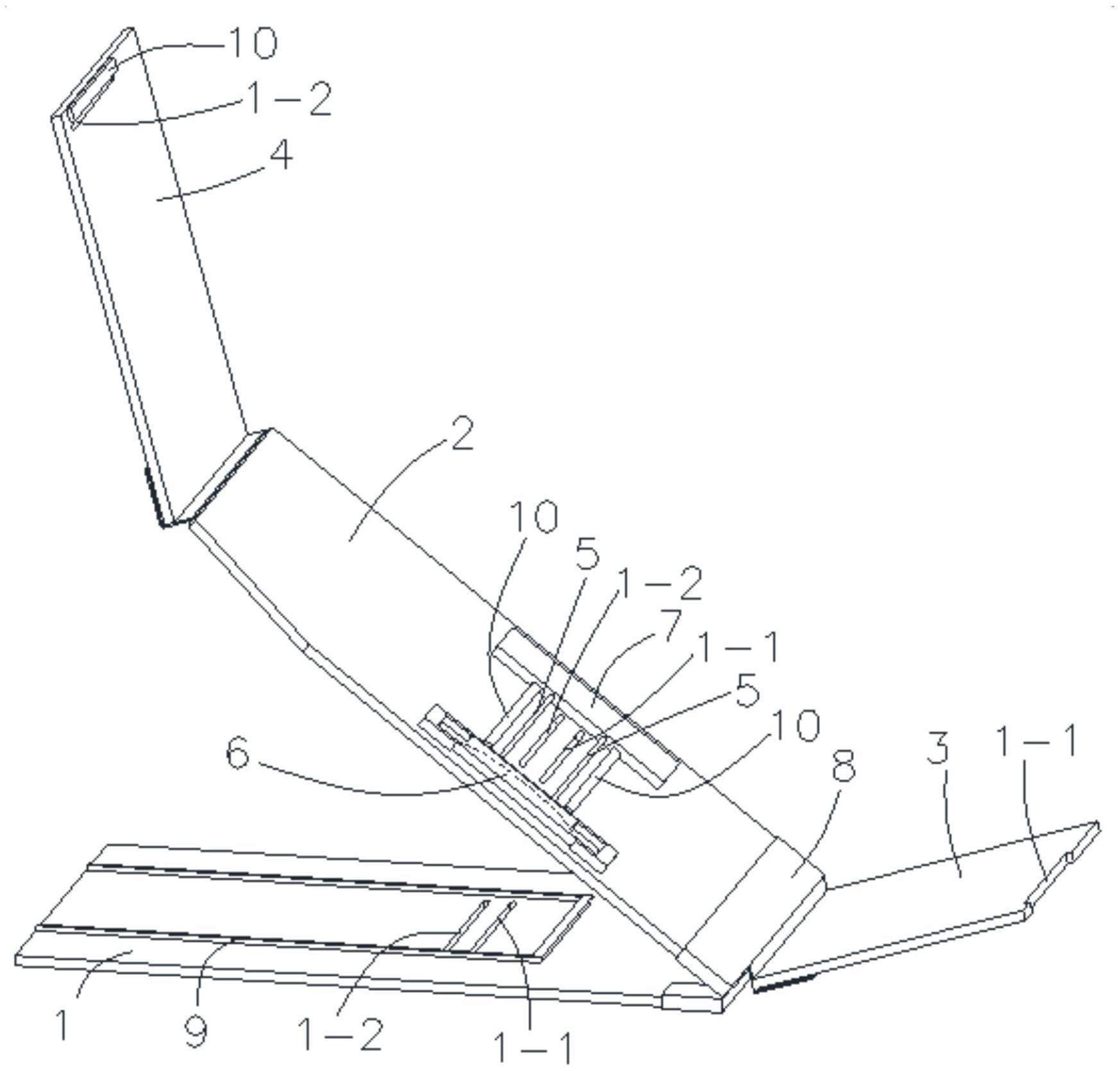
本实用新型尤其涉及一种钢丝开袋模板,包括第二模板和分别与第二模板活接的第一模板、第三模板和第四模板,第一模板位于第二模板下方,第三模板和第四模板均位于第二模板上方;第一模板和第二模板上均贯穿有第一嵌线条缉线槽和第二嵌线条缉线槽,第三模板上也贯穿有第一嵌线条缉线槽,第四模板上也贯穿有第二嵌线条缉线槽,当第一模板和第三模板均折叠至第二模板上时,其第一嵌线条缉线槽依次重合,当第一模板和第四模板均折叠至第二模板上时,其第二嵌线条缉线槽依次重合;第二模板上方设有两根钢丝,两根钢丝设在第一嵌线条缉线槽和第二嵌线条缉线槽的两侧,两根钢丝与第二模板之间具有嵌线条间隙。


