授权公布号:CN216473843U
一种用于缝制风琴口袋的功能模板
有效
申请
2021-10-27
申请公布
1970-01-01
授权
2022-05-10
预估到期
2031-10-27
| 申请号 | CN202122594925.1 |
| 申请日 | 2021-10-27 |
| 授权公布号 | CN216473843U |
| 授权公告日 | 2022-05-10 |
| 分类号 | D05B35/06 |
| 分类 | 缝纫;绣花;簇绒; |
| 申请人名称 | 常州华利达服装集团有限公司 |
| 申请人地址 | 江苏省常州市天宁区中吴大道599号 |
专利法律状态
2022-05-10
授权
状态信息
授权
摘要
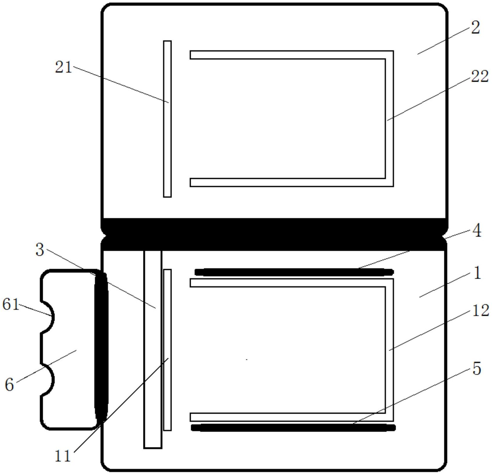
本实用新型公开一种用于缝制风琴口袋的功能模板,包括底板、盖板和折边条;折边条和盖板的一端均铰接在底板上,且盖板用于盖住底板,折边条位于底板与盖板之间;盖板上设置有第一缝纫槽和用于缝制风琴褶的第二缝纫槽,底板上设置有第三缝纫槽和第四缝纫槽;当盖板盖住底板后,第一缝纫槽与第三缝纫槽对齐,第二缝纫槽与第四缝纫槽对齐,折边条翻转后与第三缝纫槽的边沿齐平。本实用新型的能模板结构简单,使用方便,制造成本低,解决了传统人工缝合口袋效率低下以及风琴口袋缝制时不能实现标准化作业的问题;同时该功能模板使用简单,易于上手,对于员工的缝合经验没有过多的要求,对操作人员的缝制熟练度依赖度不高,能够大幅提升加工效率。


