授权公布号:CN212121214U
生物制药用电解抛光级不锈钢管冷轧机构
有效
申请
2020-04-29
申请公布
1970-01-01
授权
2020-12-11
预估到期
2030-04-29
| 申请号 | CN202020689432.9 |
| 申请日 | 2020-04-29 |
| 授权公布号 | CN212121214U |
| 授权公告日 | 2020-12-11 |
| 分类号 | B21B17/14;B21B39/14 |
| 分类 | 基本上无切削的金属机械加工;金属冲压; |
| 申请人名称 | 浙江新航不锈钢有限公司 |
| 申请人地址 | 浙江省嘉兴市海盐县经济开发区方家埭路69号 |
专利法律状态
2020-12-11
授权
状态信息
授权
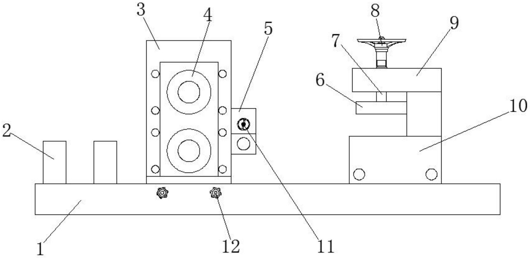
摘要
本实用新型公开了生物制药用电解抛光级不锈钢管冷轧机构,包括工作台和固定安装在工作台上的支撑托架,所述工作台的上侧设置有冷轧框架,所述冷轧框架的内侧设置有冷轧辊,所述冷轧框架的下表面设置有连接插板,且连接插板与冷轧框架为一体式结构,所述工作台的上表面开设有连接插槽,所述连接插板插入连接插槽内,所述连接插槽的一端滑动连接有固定紧压板,所述工作台的一侧旋合有旋钮螺丝;本实用新型通过设计的旋钮螺丝、连接插板、连接插槽和固定紧压板,在使用冷轧机构时冷轧框架和冷轧辊出现故障损坏时,通过转动旋钮螺丝带动固定紧压板从连接插板的一端移开,然后即可把连接插板从连接插槽被拔出把冷轧框架拆卸下来,在拆卸时更加方便。


