授权公布号:CN207874353U
一种模切机送纸部用的齐纸装置
有效
申请
2018-03-02
申请公布
1970-01-01
授权
2018-09-18
预估到期
2028-03-02
| 申请号 | CN201820292048.8 |
| 申请日 | 2018-03-02 |
| 授权公布号 | CN207874353U |
| 授权公告日 | 2018-09-18 |
| 分类号 | B26D7/01;B26D7/06 |
| 分类 | 手动切割工具;切割;切断; |
| 申请人名称 | 唐山继国印刷机械有限公司 |
| 申请人地址 | 河北省唐山市玉田县豪门路北侧 |
专利法律状态
2018-09-18
授权
状态信息
授权
摘要
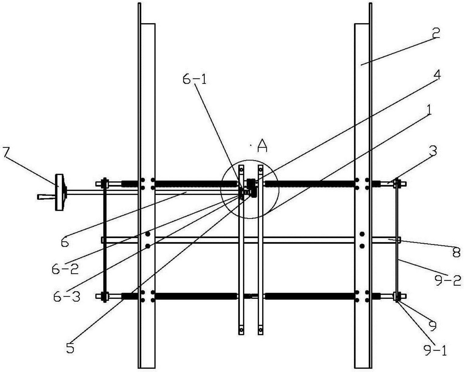
本实用新型公开了模切机送纸部用的齐纸装置,包括丝杠、导杆、两个齐纸角铝,丝杠配置有驱动机构,丝杠有四个,导杆有一个,导杆位于两组丝杠之间,一个齐纸角铝分别与第一组丝杠中的一个和第二组丝杠中的一个螺纹连接,并与导杆的一部分导向连接,另一个齐纸角铝分别与第一组丝杠中的另一个和第二组丝杠中的另一个螺纹连接,并与导杆的另一部分导向连接,第一组丝杠中的一个与第二组丝杠中的一个通过同步传动机构传动连接,第一组丝杠中的另一个与第二组丝杠中的另一个通过同步传动机构传动连接。本实用新型在调节齐纸角铝的左右位置时很灵活,不容易被卡住,而且移动量容易精确地控制。


