授权公布号:CN202350990U
一种锂电池塑料壳测漏装置
失效
申请
2011-12-02
申请公布
1970-01-01
授权
2012-07-25
预估到期
2021-12-02
| 申请号 | CN201120531463.2 |
| 申请日 | 2011-12-02 |
| 授权公布号 | CN202350990U |
| 授权公告日 | 2012-07-25 |
| 分类号 | G01M3/10 |
| 分类 | 测量;测试; |
| 申请人名称 | 厦门华锂能源股份有限公司 |
| 申请人地址 | 福建省厦门市集美区白虎岩路19号 |
专利法律状态
2019-11-15
专利权的终止
状态信息
未缴年费专利权终止;IPC(主分类):G01M3/10;申请日:20111202;授权公告日:20120725;终止日期:20181202
2016-05-18
专利权人的姓名或者名称、地址的变更
状态信息
专利权人的姓名或者名称、地址的变更;IPC(主分类):G01M3/10;变更事项:专利权人;变更前:厦门华锂能源有限公司;变更后:厦门华锂能源股份有限公司;变更事项:地址;变更前:361024 福建省厦门市集美区白虎岩路19号;变更后:361024 福建省厦门市集美区白虎岩路19号
2012-07-25
授权
状态信息
授权
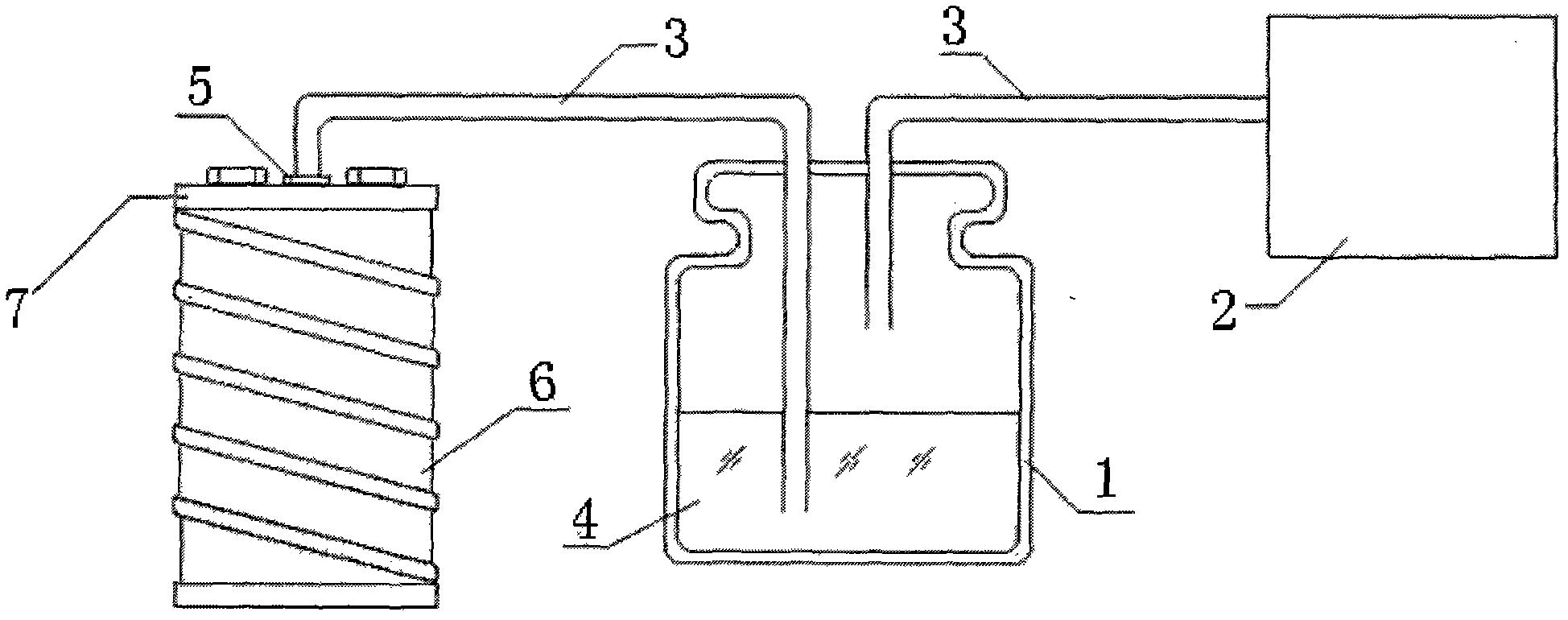
摘要
本实用新型涉及一种锂电池塑料壳测漏装置,包括:磨口瓶、负压装置、密封接头和气管,所述磨口瓶为密封的玻璃透明容器,所述磨口瓶内装有清水,一根气管一端通过密封接头与动力锂电池的电池塑料壳连接,另一端伸入磨口瓶的清水内;另一根气管一端插入磨口瓶内但与清水不接触,另一端与负压装置连接。由于气管将电池塑料壳、磨口瓶、负压装置连接在一起构成一个密闭的测量腔体,可以在动力锂电池大批量生产环节中方便地检测焊接好的锂电池塑料壳是否存在漏气情况,大大提高成品率。


