授权公布号:CN212894776U
一种皮革生产用的自动压花机
有效
申请
2020-06-18
申请公布
1970-01-01
授权
2021-04-06
预估到期
2030-06-18
| 申请号 | CN202021132868.4 |
| 申请日 | 2020-06-18 |
| 授权公布号 | CN212894776U |
| 授权公告日 | 2021-04-06 |
| 分类号 | C14B1/56 |
| 分类 | 小原皮;大原皮;毛皮;皮革; |
| 申请人名称 | 辛集市永佳皮草有限公司 |
| 申请人地址 | 河北省辛集市市府街东段南侧宴西路东侧 |
专利法律状态
2021-04-06
授权
状态信息
授权
摘要
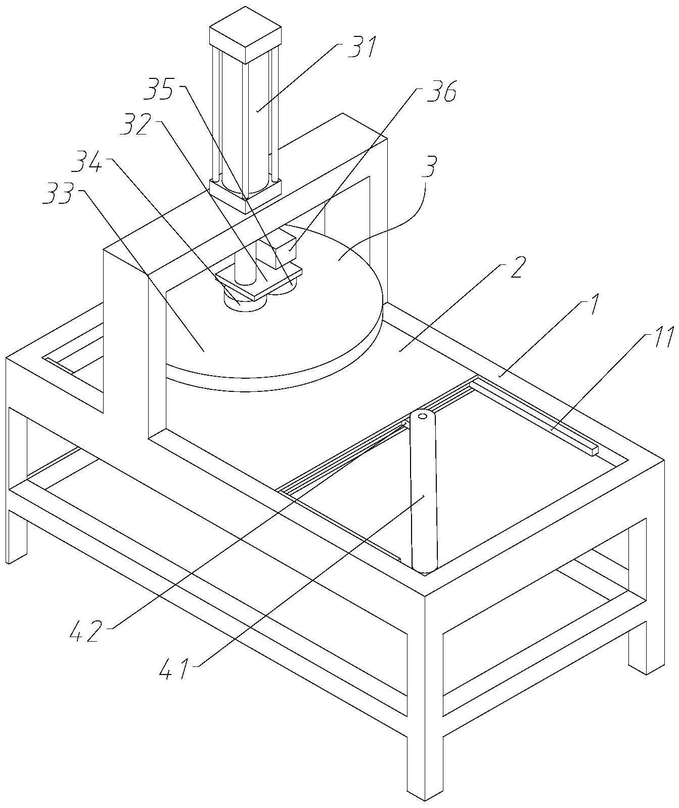
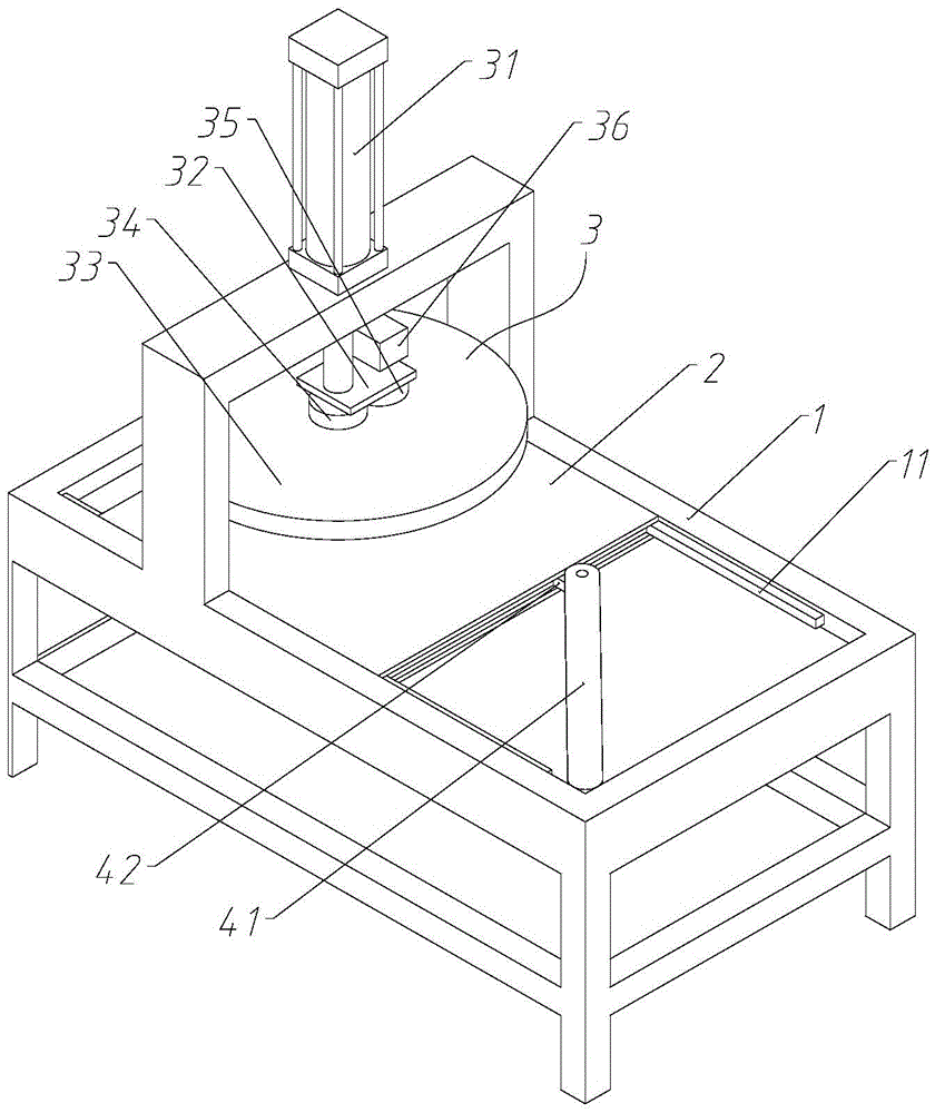
本实用新型属于皮革处理技术领域,提出了一种皮革生产用的自动压花机,包括机架,工作台,设置在机架上,工作台的工作面水平;压花模组,设置在机架上,位于工作台的上方,包括:第一动力机构,设置在机架上,支架,与第一动力机构连接,在第一动力机构的作用下,沿竖直方向运动,模具安装架,转动设置在支架上,绕竖直轴线转动。通过上述技术方案,解决了现有技术中皮革压花机在压制不同角度的压花时使用不方便的问题。


