授权公布号:CN215312025U
大功率抗衰减电热膜碳浆生产装置
有效
申请
2021-09-02
申请公布
1970-01-01
授权
2021-12-28
预估到期
2031-09-02
| 申请号 | CN202122102196.3 |
| 申请日 | 2021-09-02 |
| 授权公布号 | CN215312025U |
| 授权公告日 | 2021-12-28 |
| 分类号 | B01F13/10;B01F7/04;B01F15/02 |
| 分类 | 一般的物理或化学的方法或装置; |
| 申请人名称 | 山东恒远电热材料科技有限公司 |
| 申请人地址 | 山东省烟台市龙口市北马镇东刘家村南 |
专利法律状态
2021-12-28
授权
状态信息
授权
摘要
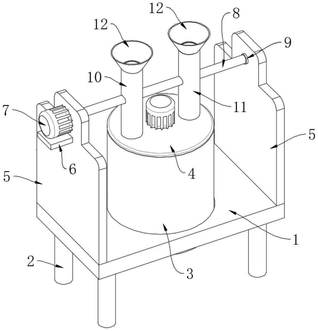
本实用新型涉及电热膜碳浆的生产加工技术领域,尤其涉及大功率抗衰减电热膜碳浆生产装置。所述大功率抗衰减电热膜碳浆生产装置包括基板和搅拌罐,所述搅拌罐架设安装于基板上,且所述搅拌罐上安装有顶盖,还包括联动轴,所述联动轴上安装有第一连接环和第二连接环,所述第一连接环和第二连接环上均设置有若干个搅拌叶,所述顶盖上连接有第一进料端口和第二进料端口,所述第一连接环和第二连接环分别位于第一进料端口和第二进料端口内。本实用新型提供的大功率抗衰减电热膜碳浆生产装置,能够加速物料的输送,从而提高工作的效率。


