授权公布号:CN219172905U
一种不良品在线剔除装置
有效
申请
2023-01-28
申请公布
1970-01-01
授权
2023-06-13
预估到期
2033-01-28
| 申请号 | CN202320142917.X |
| 申请日 | 2023-01-28 |
| 授权公布号 | CN219172905U |
| 授权公告日 | 2023-06-13 |
| 分类号 | B65B69/00;B07C5/342;B07C5/38 |
| 分类 | 输送;包装;贮存;搬运薄的或细丝状材料; |
| 申请人名称 | 山东华滋自动化技术股份有限公司 |
| 申请人地址 | 山东省潍坊市高新区清池街道张营社区2892号高新区智能模切装备项目基地1号厂房 |
专利法律状态
2023-06-13
授权
状态信息
授权
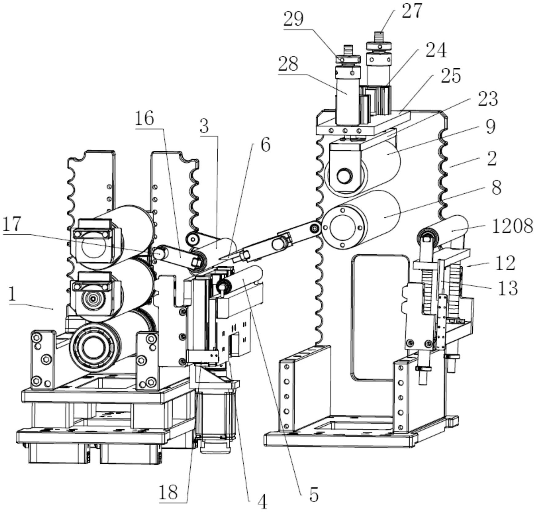
摘要
本实用新型涉及不良品剔除设备技术领域,提供了一种不良品在线剔除装置,包括料带牵引刀座及废料牵引刀座,料带牵引刀座的输出端安装有压料轴,料带牵引刀座上且位于压料轴的底部设置有顶升机构,顶升机构上安装有顶料轴,废料牵引刀座的输入端安装有剥离刀,剥离刀位于顶料轴的上方且与顶料轴对应设置;废料牵引刀座上转动安装有由第一电机驱动的牵引辊,牵引辊的上方相对安装有升降辊,排废料带绕过剥离刀并进入到牵引辊与升降辊之间的空隙,并缠绕于不良品收集辊上。本实用新型解决了目前通过人工挑选的方式对于料带上的不良品进行剔除,不仅工作量大,效率低,且容易出现遗漏,影响产品良率的问题。


