授权公布号:CN217306578U
一种电芯外沿热封机构
有效
申请
2022-03-10
申请公布
1970-01-01
授权
2022-08-26
预估到期
2032-03-10
| 申请号 | CN202220538928.5 |
| 申请日 | 2022-03-10 |
| 授权公布号 | CN217306578U |
| 授权公告日 | 2022-08-26 |
| 分类号 | H01M10/0585;H01M10/04 |
| 分类 | 基本电气元件; |
| 申请人名称 | 广东亿鑫丰智能装备股份有限公司 |
| 申请人地址 | 广东省东莞市道滘镇南城村南城工业区第三小区16号 |
专利法律状态
2022-08-26
授权
状态信息
授权
摘要
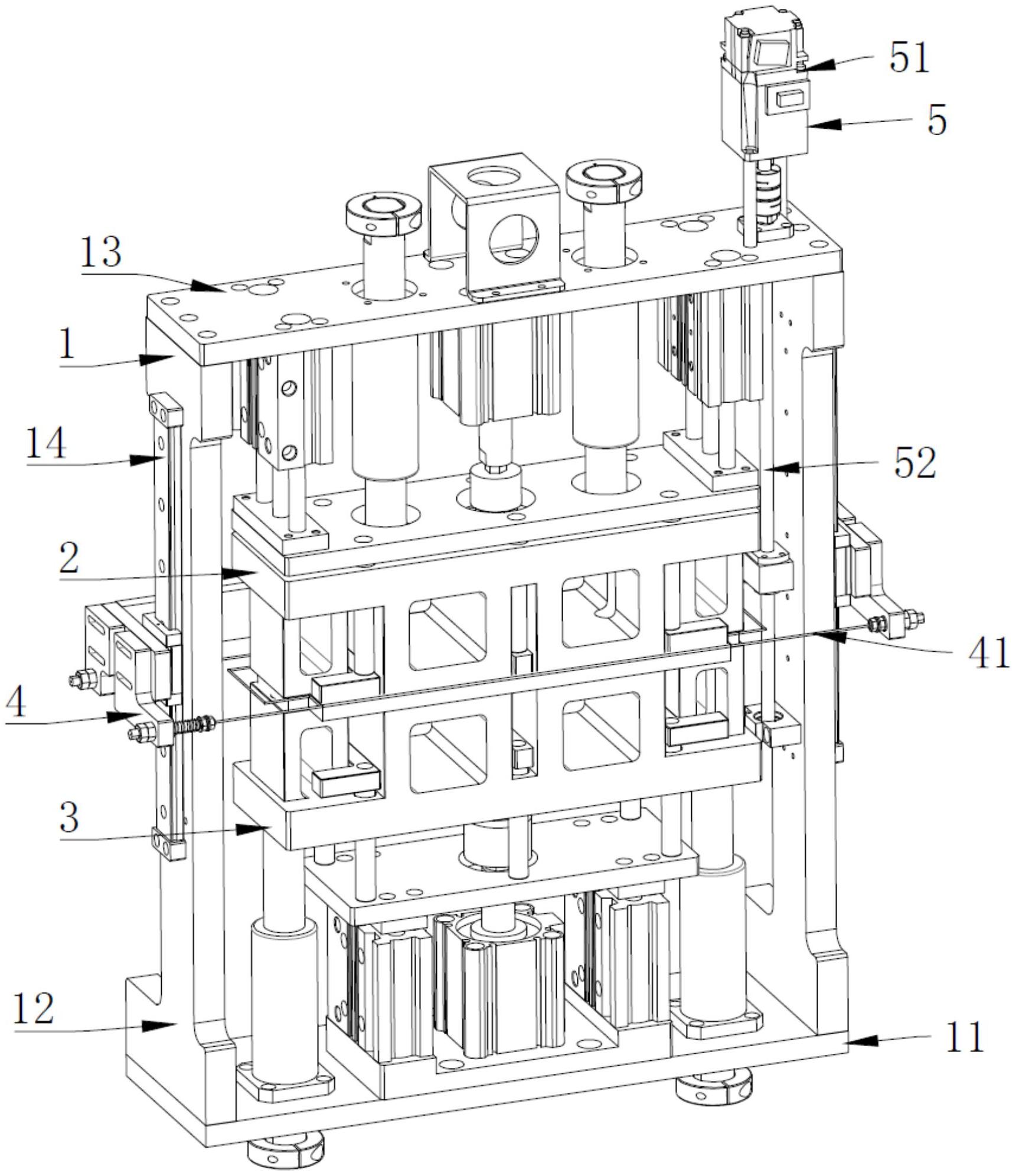
本实用新型涉及电芯封边技术领域,具体涉及一种电芯外沿热封机构,包括固定框架、安装于固定框架的上压台、安装于固定框架并与上压台相对设置的下压台、可活动安装于固定框架的热封装置、及用于驱动热封装置活动于上压台与下压台之间的驱动装置;所述上压台与下压台之间形成一夹持位,所述夹持位用于夹持电芯,所述热封装置设有热封线路,所述热封线路用于电芯的隔膜的外沿热封。本实用新型采用了上压台和下压台配合,形成夹持位用于将电芯夹持,后通过驱动装置驱动热封装置将电芯的外沿进行热封,结构热封效果好,电芯一体性好,能够对电芯的多个面进行热封边,电芯安全性好。


