授权公布号:CN215956762U
一种柔性电路板加工装置
有效
申请
2021-08-30
申请公布
1970-01-01
授权
2022-03-04
预估到期
2031-08-30
| 申请号 | CN202122091815.3 |
| 申请日 | 2021-08-30 |
| 授权公布号 | CN215956762U |
| 授权公告日 | 2022-03-04 |
| 分类号 | H05K3/46 |
| 分类 | 其他类目不包含的电技术; |
| 申请人名称 | 广东亿鑫丰智能装备股份有限公司 |
| 申请人地址 | 广东省东莞市道滘镇南城村南城工业区第三小区16号 |
专利法律状态
2022-03-04
授权
状态信息
授权
摘要
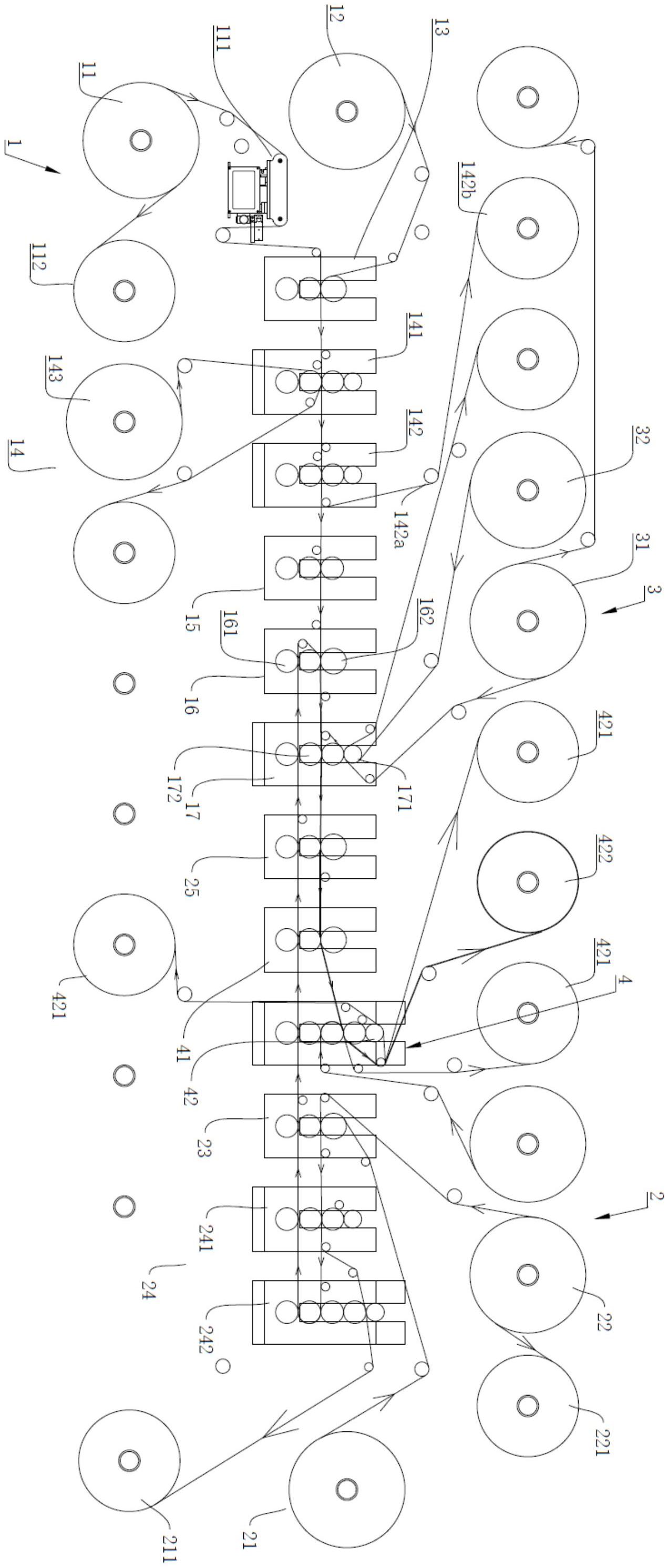
本实用新型涉及柔性电路板加工技术领域,具体涉及一种柔性电路板加工装置,包括第一复合成型机构、第二复合成型机构、复合机构、及成品机构;所述第一复合成型机构包括中膜放料组件、第一铜箔放料组件、用于将铜箔和中膜复合的第一复合组件、将复合后的物料加工的第一加工组件、第一热压组件、复合对位组件及开孔对位组件;本实用新型采用了多重复合结构,并依次将铜箔和相应的元件结合在一起,实现柔性电路板的自动复合、热压、开孔等加工,加工效率高,自动化程度高,结构可靠,生产效率高。


