授权公布号:CN209594146U
一种双面冷却散热器结构组件
有效
申请
2018-11-22
申请公布
1970-01-01
授权
2019-11-05
预估到期
2028-11-22
| 申请号 | CN201821932663.7 |
| 申请日 | 2018-11-22 |
| 授权公布号 | CN209594146U |
| 授权公告日 | 2019-11-05 |
| 分类号 | H05K7/20 |
| 分类 | 其他类目不包含的电技术; |
| 申请人名称 | 上海电驱动股份有限公司 |
| 申请人地址 | 上海市闵行区剑川路953弄322号 |
专利法律状态
2019-11-05
授权
状态信息
授权
摘要
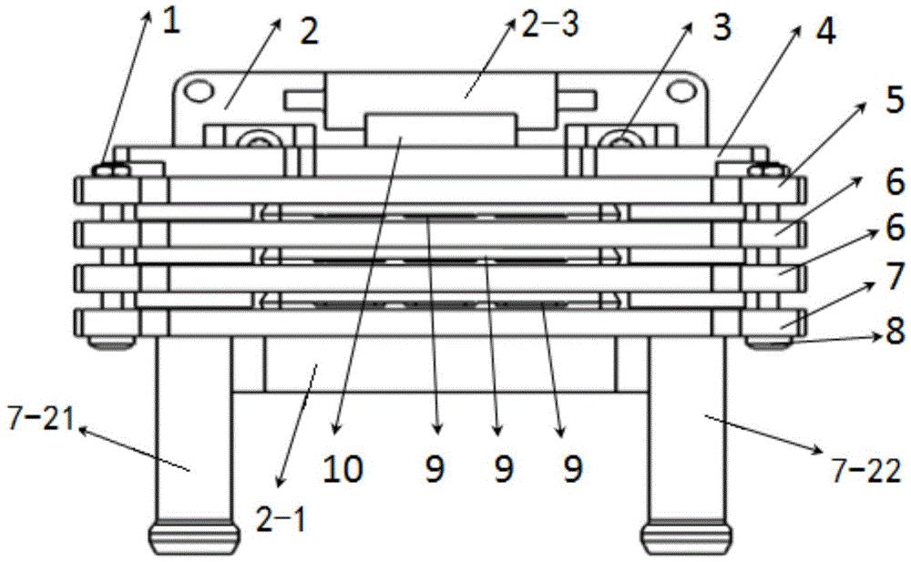
本实用新型涉及一种双面冷却散热器结构组件,包括冷板组件,所述冷板组件上设有进水管和出水管,所述冷板组件包括层叠排列的多个冷板体,每个冷板体中设有散热水道且都并联连接在进水管和出水管之间,所述水道中设有散热翅片;还包括固定支架,所述固定支架上设有相对设置的固定挡板和调节挡板,所述冷板组件固定在所述固定挡板和调节挡板之间,所述冷板组件与调节挡板之间设有用于调节压紧程度的楔形滑块。与现有技术相比,本实用新型采用双面冷却散热器层叠式的散热结构,散热能力强,且扩展方便,具有简单可靠、小型紧凑、重量轻、安装方便、易于实现单电机、多电机同步工作等优点。


