授权公布号:CN103538234B
塑料挤出模具的口模和芯模结构
有效
申请
2013-09-25
申请公布
2014-01-29
授权
2016-02-10
预估到期
2033-09-25
| 申请号 | CN201310444752.2 |
| 申请日 | 2013-09-25 |
| 申请公布号 | CN103538234A |
| 申请公布日 | 2014-01-29 |
| 授权公布号 | CN103538234B |
| 授权公告日 | 2016-02-10 |
| 分类号 | B29C47/20;B29L23/00N |
| 分类 | 塑料的加工;一般处于塑性状态物质的加工; |
| 申请人名称 | 宁波安信德亿塑业科技有限公司 |
| 申请人地址 | 浙江省宁波市镇海经济开发区A区东信路168号 |
专利法律状态
2016-02-10
授权
状态信息
授权
2014-03-12
实质审查的生效
状态信息
实质审查的生效IPC(主分类):B29C 47/20申请日:20130925
2014-01-29
公布
状态信息
公布
摘要
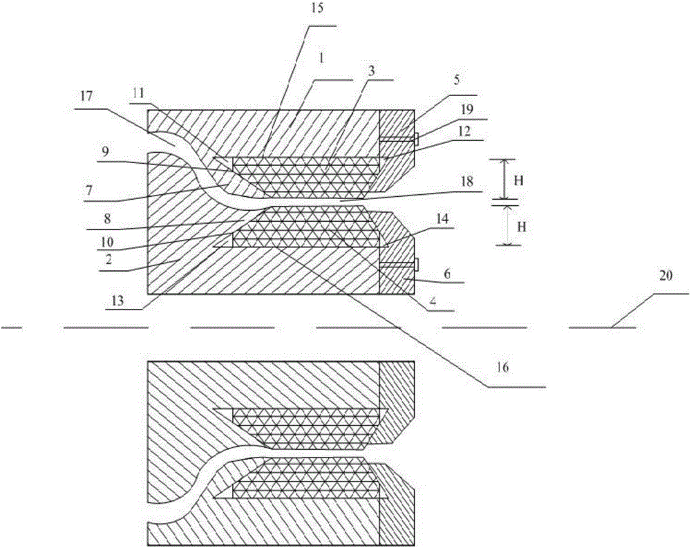
本发明公开了塑料挤出模具的口模和芯模结构,包括口模(1)和芯模(2),所述口模(1)为中空的圆柱状,所述芯模(2)与所述口模(1)同轴设置并置于所述口模(1)内,所述口模(1)内表面与所述芯模(2)外表面形成流体流动的第一环形通路(17),并且,在所述口模的出口端上沿与口模轴线平行的方向安装有口模嵌件(3),所述芯模的出口端上沿与口模轴线平行的方向安装芯模嵌件(4),所述口模嵌件(3)和所述芯模嵌件(4)之间形成流体流动的第二环形通路(18);其中,口模嵌件(3)和芯模嵌件(4)都采用聚四氟乙烯材料制成。使用该塑料挤出模具的口模和芯模结构,可以极大地提高塑料管材的内外壁表面的光洁度和平整度。


