授权公布号:CN116728135B
飞机燃油喷嘴内孔组合精加工夹具系统及其精加工方法
有效
申请
2023-07-13
申请公布
2023-09-12
授权
2024-03-12
预估到期
2043-07-13
| 申请号 | CN202310866008.5 |
| 申请日 | 2023-07-13 |
| 申请公布号 | CN116728135A |
| 申请公布日 | 2023-09-12 |
| 授权公布号 | CN116728135B |
| 授权公告日 | 2024-03-12 |
| 分类号 | B23Q3/12 |
| 分类 | 机床;不包含在其他类目中的金属加工; |
| 申请人名称 | 森泰英格(成都)数控刀具股份有限公司 |
| 申请人地址 | 四川省成都市双流区西航港经济开发区西航港大道中四段685号 |
专利法律状态
2024-03-12
授权
状态信息
授权
2023-09-29
实质审查的生效
状态信息
实质审查的生效;IPC(主分类):B23Q3/12;申请日:20230713
2023-09-12
公布
状态信息
公布
摘要
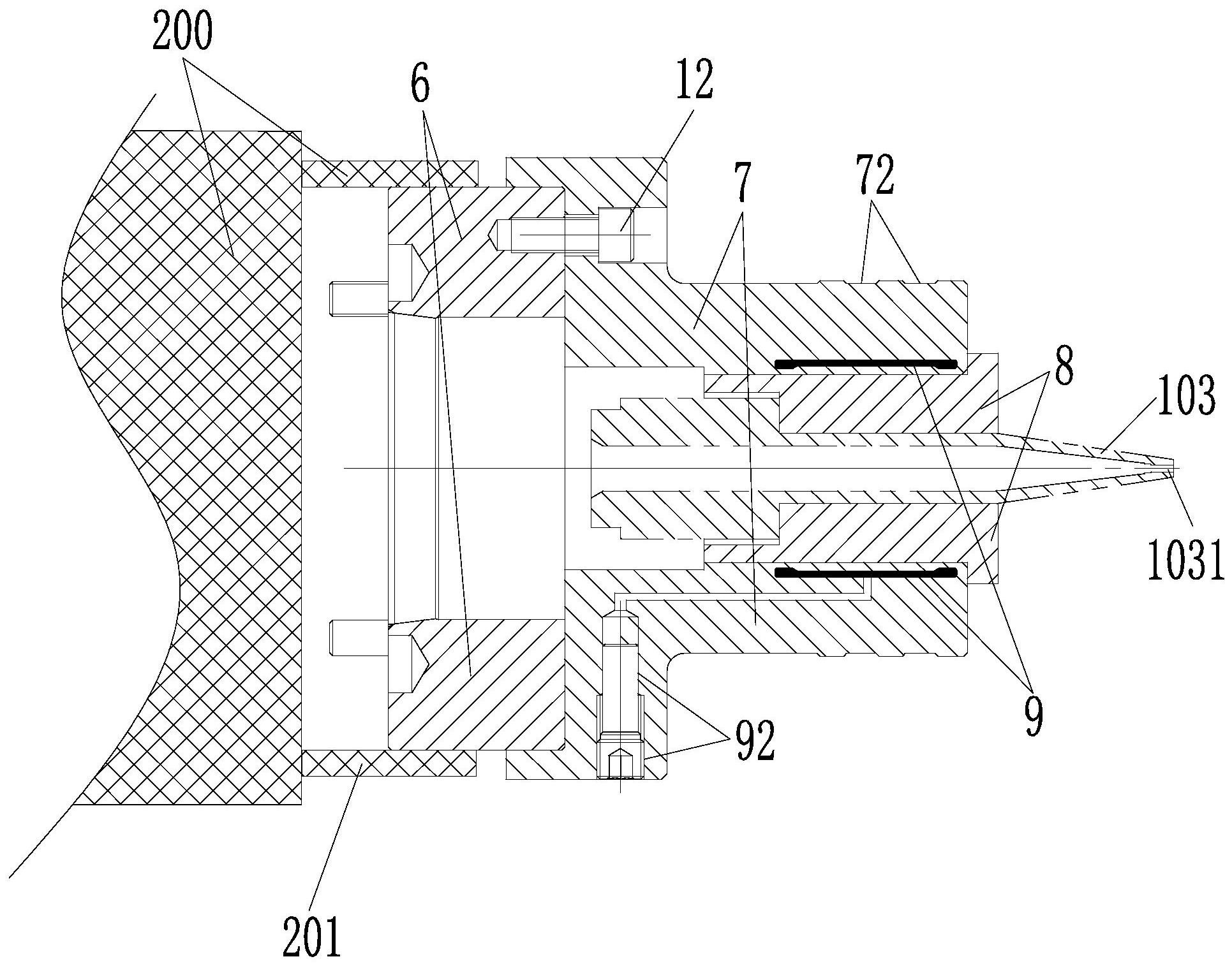
本发明公开了一种飞机燃油喷嘴内孔组合精加工夹具系统及其精加工方法,机床主轴的夹具连接座可拆卸连接有第一液胀夹具组件和第二液胀夹具组件,第一液胀夹具组件包括依次对应连接的联接盘件A、基准套件A和基准套件B,基准套件B内部开有柱形夹套孔,基准套件A内部开有锥形夹套孔;基准套件B设有环形液胀囊体A和液胀管道A,基准套件B上安装有液胀活塞体A;第二液胀夹具组件包括相互连接的联接盘件B和基准套件C,基准套件C内安装有工件夹套,基准套件C内壁与工件夹套外壁之间安装设有环形液胀囊体B和液胀管道B,工件夹套上安装有液胀活塞体B。本发明能够高精度辅助定位飞机燃油喷嘴工件,具有加工成品率高、夹持稳定可靠等优点。


