授权公布号:CN208268754U
一种定向滴漏与封闭循环结合的模切机稀油润滑系统
有效
申请
2018-05-23
申请公布
1970-01-01
授权
2018-12-21
预估到期
2028-05-23
| 申请号 | CN201820779431.6 |
| 申请日 | 2018-05-23 |
| 授权公布号 | CN208268754U |
| 授权公告日 | 2018-12-21 |
| 分类号 | F16N7/40 |
| 分类 | 工程元件或部件;为产生和保持机器或设备的有效运行的一般措施;一般绝热; |
| 申请人名称 | 无锡市正先自动化设备有限公司 |
| 申请人地址 | 江苏省无锡市惠山经济开发区智慧路1号清华创业大厦A1206 |
专利法律状态
2018-12-21
授权
状态信息
授权
摘要
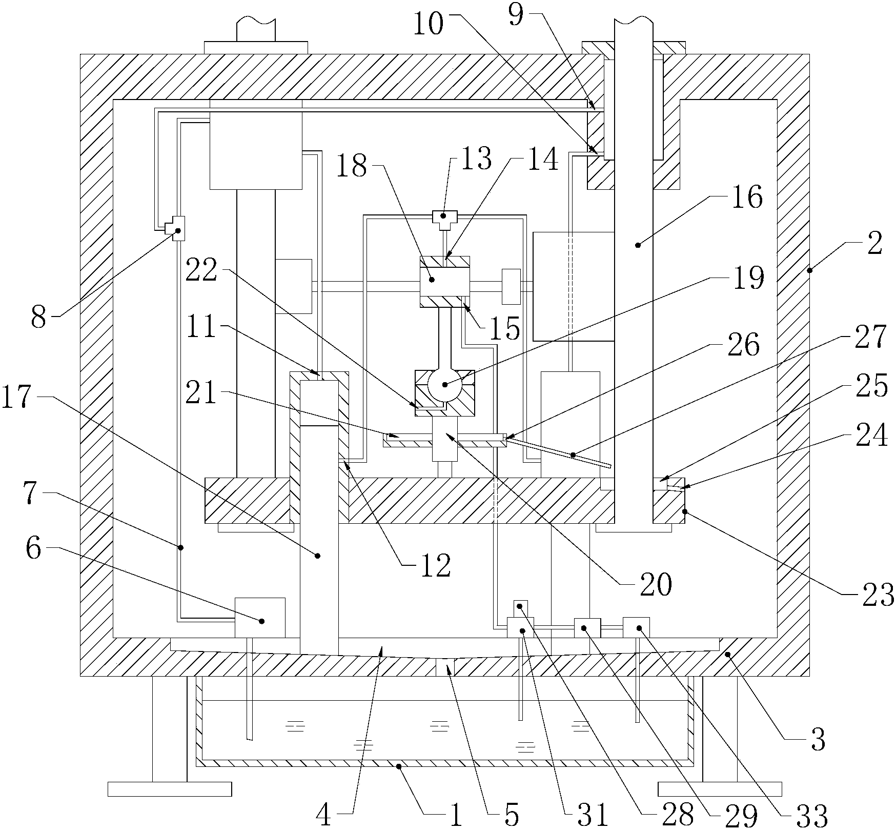
本实用新型涉及到一种定向滴漏与封闭循环结合的模切机稀油润滑系统,包括油箱,油箱上方为底板,底板上设置有集油槽,集油槽设置有油泵,油泵通过分油器先同时对两上导柱进行润滑,然后将上导柱润滑油路中的回油引入两下导柱进行润滑,再将两下导柱润滑油路中的回油引入曲轴连杆机构,对曲轴连杆机构进行润滑,最后将曲轴连杆机构内的润滑油引导回到油箱,而球铰链通过由曲轴连杆机构滴漏下来的油进行润滑。通过将上、下导柱和曲轴连杆机构的润滑油路进行了合理的串联、并联布局,大大降低了油管布置的复杂性,同时取消了对球铰链的油管润滑,改用定滴漏的方式对球铰链进行润滑,进一步简化了油管的布置,降低了生产成本和维修维护难度。


