授权公布号:CN207656834U
一种模切机模切机构的下模平台
有效
申请
2017-12-05
申请公布
1970-01-01
授权
2018-07-27
预估到期
2027-12-05
| 申请号 | CN201721674244.3 |
| 申请日 | 2017-12-05 |
| 授权公布号 | CN207656834U |
| 授权公告日 | 2018-07-27 |
| 分类号 | B26F1/44;B26D7/20 |
| 分类 | 手动切割工具;切割;切断; |
| 申请人名称 | 劲亚(上海)机械有限公司 |
| 申请人地址 | 上海市松江区茸华路1281号1-2幢 |
专利法律状态
2018-07-27
授权
状态信息
授权
摘要
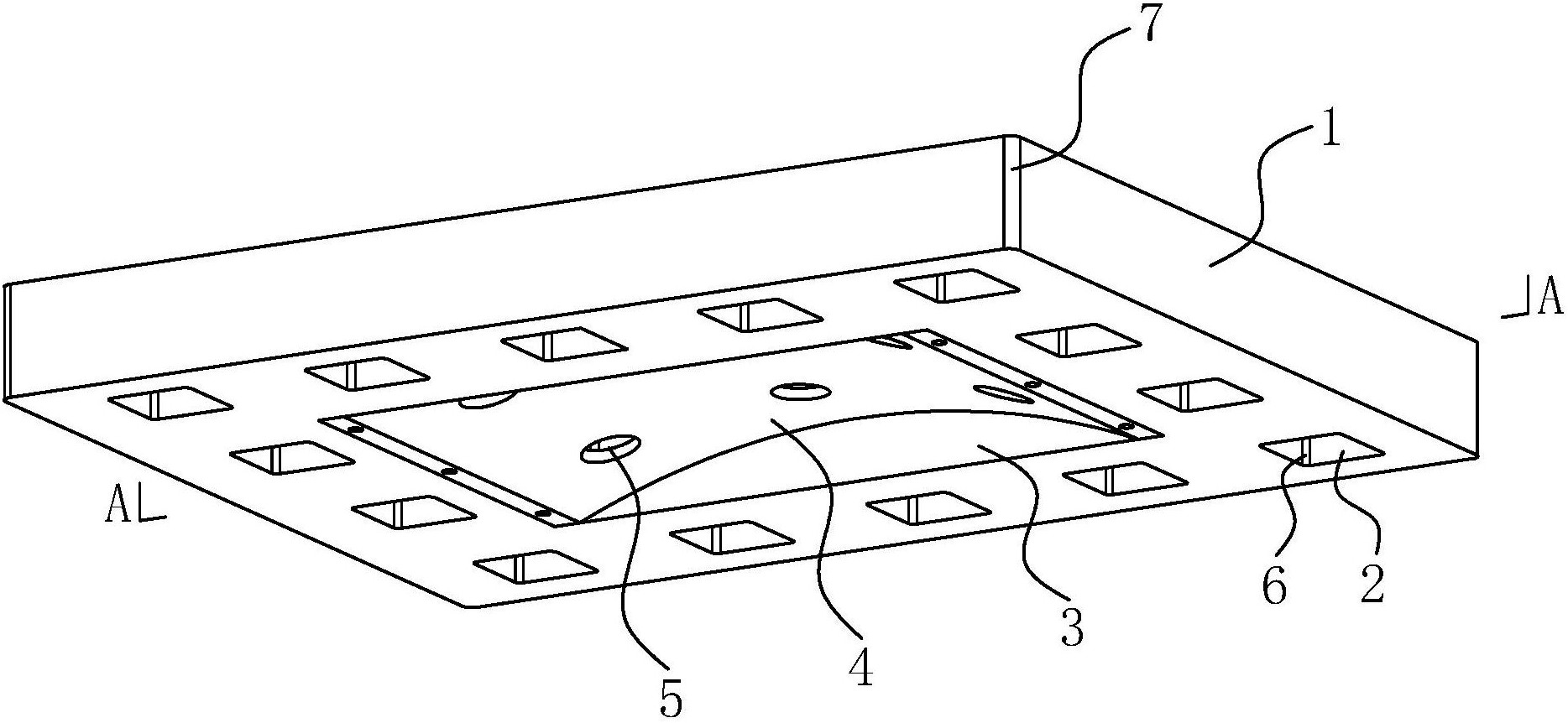
本实用新型涉及模切机领域,公开了一种模切机模切机构的下模平台,包括水平放置的平台本体,平台本体底面开口设置有多个砂槽,平台本体的底面开口设置有呈凹弧状的加强槽,加强槽的深度低于砂槽的深度,加强槽包含位于平台本体中部的多个砂槽设置,加强槽内设置有与加强槽贴合设置的呈凹弧状的加强板,加强板上开设有多个加强孔,多个加强孔与位于加强槽内的多个砂槽一一对应并连通设置;通过设置平台本体的底面设置有凹弧状的加强槽,增加平台本体的结构强度,平台本体不易变形或损坏,模切机构可以正常工作。


