授权公布号:CN213176874U
一种球阀式静态平衡阀
有效
申请
2020-09-21
申请公布
1970-01-01
授权
2021-05-11
预估到期
2030-09-21
| 申请号 | CN202022069773.9 |
| 申请日 | 2020-09-21 |
| 授权公布号 | CN213176874U |
| 授权公告日 | 2021-05-11 |
| 分类号 | F16K5/06;F16K5/08;F16K27/06 |
| 分类 | 工程元件或部件;为产生和保持机器或设备的有效运行的一般措施;一般绝热; |
| 申请人名称 | 欧文托普(中国)暖通空调系统技术有限公司 |
| 申请人地址 | 北京市大兴区经济技术开发区同济中路2号301室 |
专利法律状态
2021-05-11
授权
状态信息
授权
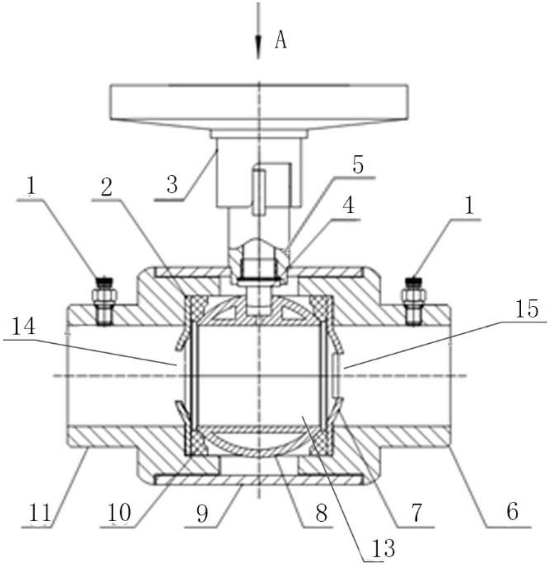
摘要
本实用新型公开一种球阀式静态平衡阀,包括进水阀盖、出水阀盖、阀体、阀杆、调节球和第一配流盘,所述阀体的左部和右部分别与所述进水阀盖和所述出水阀盖可拆卸式固定,所述阀杆的底部与所述调节球可拆卸式固定,所述阀杆的顶部由所述调节球的顶部向上延伸出阀体,所述调节球上设置有过水通孔,所述第一配流盘的外周在所述调节球的左侧与所述进水阀盖密封可拆卸式固定,所述第一配流盘的中部一体成型或固定有第一配流孔。本实用新型的一种球阀式静态平衡阀结构简单、角行程调节开度、扭矩较小、体积相对更小、成本更低和能得到不同的流量调节特性曲线。


