授权公布号:CN213966220U
一种PE管原料混合搅拌装置
有效
申请
2020-11-27
申请公布
1970-01-01
授权
2021-08-17
预估到期
2030-11-27
| 申请号 | CN202022793769.7 |
| 申请日 | 2020-11-27 |
| 授权公布号 | CN213966220U |
| 授权公告日 | 2021-08-17 |
| 分类号 | B01F7/24;B01F15/00;B01F15/02 |
| 分类 | 一般的物理或化学的方法或装置; |
| 申请人名称 | 江苏惠升管业集团有限公司 |
| 申请人地址 | 江苏省宿迁市苏宿园区莫愁湖路8号 |
专利法律状态
2021-08-17
授权
状态信息
授权
摘要
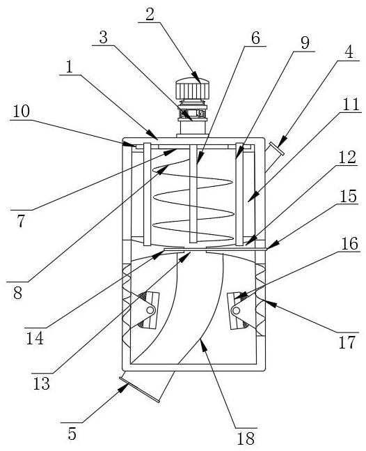
本实用新型涉及一种PE管原料混合搅拌装置,属于PE管原料混合搅拌技术领域,解决现有技术中壳体内壁无法清理以及搅拌装置运行时间短的问题。采用以下技术方案:包括壳体、电机、进料口、出料口,所述电机位于壳体上部,所述进料口位于壳体一侧上部,所述出料口位于壳体底部,所述壳体分为上层和下层,上层与下层之间设有隔离装置,上层内设有搅拌装置,所述搅拌装置与电机连接,搅拌装置一侧设有清理机构,下层内设有加热装置。该装置将搅拌和加热分为两步,使得搅拌设备运行时间延长,刮板能够有效刮出内壁上的原料,有助于节省资源,移动挡板使其进入加热装置中,加热效果更好,且在加热的同时,搅拌装置可再加入原料进行搅拌,节省时间。


