授权公布号:CN217688370U
一种安全型落锤冲击实验机
有效
申请
2022-05-10
申请公布
1970-01-01
授权
2022-10-28
预估到期
2032-05-10
| 申请号 | CN202221107683.7 |
| 申请日 | 2022-05-10 |
| 授权公布号 | CN217688370U |
| 授权公告日 | 2022-10-28 |
| 分类号 | G01N3/303;G01N3/02;G01M7/08 |
| 分类 | 测量;测试; |
| 申请人名称 | 江苏惠升管业集团有限公司 |
| 申请人地址 | 江苏省宿迁市苏宿园区莫愁湖路8号 |
专利法律状态
2022-10-28
授权
状态信息
授权
摘要
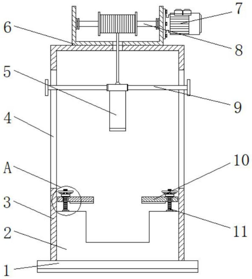
本实用新型公开了一种安全型落锤冲击实验机,包括底座,所述底座顶端的中间位置处固定连接有框体。该安全型落锤冲击实验机通过在装载台顶部两侧的两端分别固定连接有定位插杆,在使用时将需要进行冲击实验的工件放置在装载台的顶端,随后通过将设置在固定夹板内部一侧两端的定位插槽套接在定位插杆的外部,以此到达了将固定夹板连接安装在装载台顶端两侧以及需要实验的工件上,随后将锁紧转盘套接在定位插杆的外部,并通过螺纹连接进行紧固,从而通过固定夹板将工件夹持固定在装载台顶端的目的,并通过稳固垫进一步稳固防止松脱影响实验质量,解决了不便对实验工件进行稳固的问题。


