授权公布号:CN217670366U
一种防堵塞式塑料高混机
有效
申请
2022-05-30
申请公布
1970-01-01
授权
2022-10-28
预估到期
2032-05-30
| 申请号 | CN202221316335.0 |
| 申请日 | 2022-05-30 |
| 授权公布号 | CN217670366U |
| 授权公告日 | 2022-10-28 |
| 分类号 | B29B7/16;B29B7/24;B29B7/26;B29B7/22;B29B7/80;B29B13/10 |
| 分类 | 塑料的加工;一般处于塑性状态物质的加工; |
| 申请人名称 | 江苏惠升管业集团有限公司 |
| 申请人地址 | 江苏省宿迁市苏宿园区莫愁湖路8号 |
专利法律状态
2022-10-28
授权
状态信息
授权
摘要
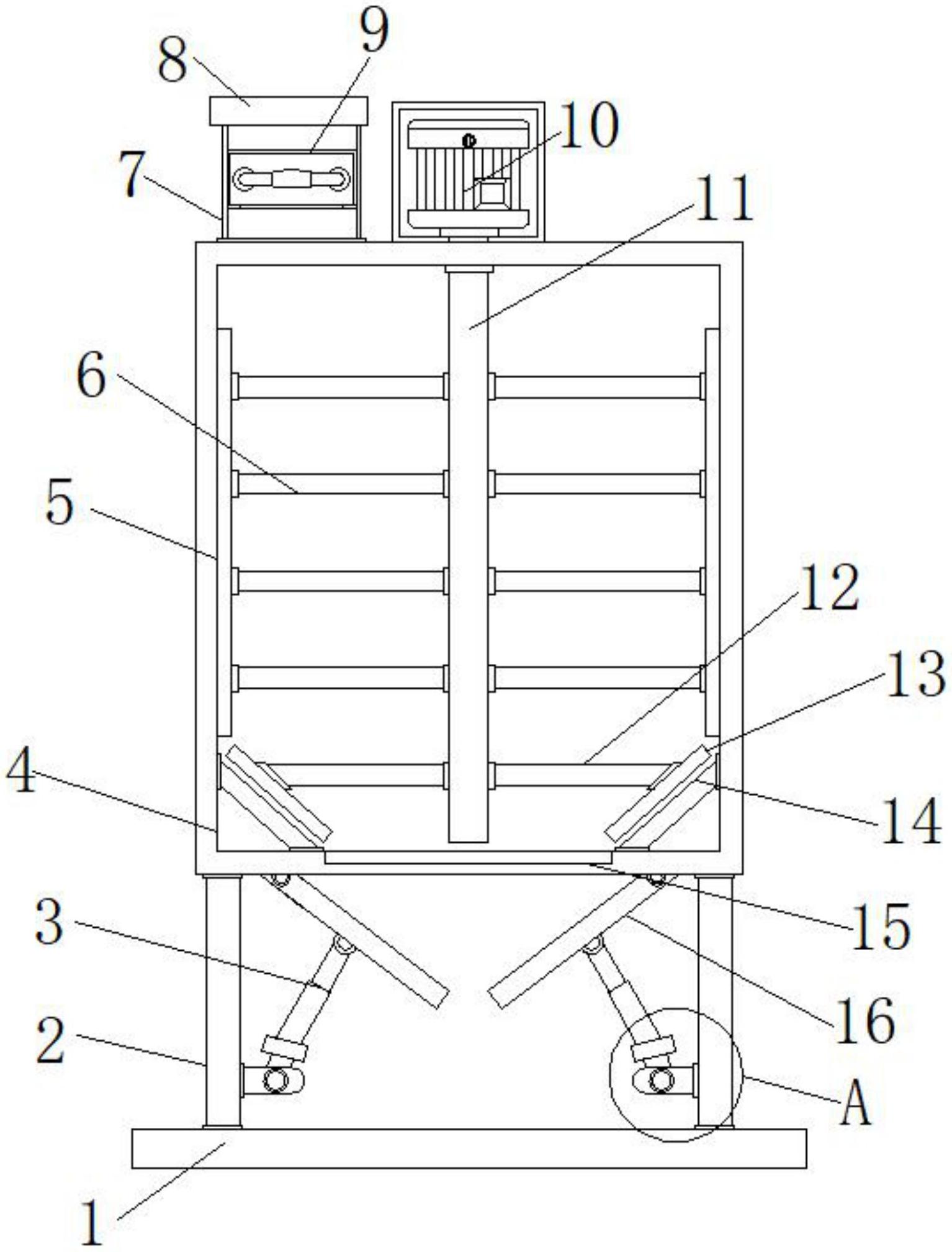
本实用新型公开了一种防堵塞式塑料高混机,包括底座,所述底座的顶端设置有箱体,所述底座和箱体之间的两侧固定连接有支脚,所述箱体底端的两侧活动铰接有挡板。该防堵塞式塑料高混机通过设置有液压油缸、安装块和安装座,启动液压油缸,由于液压油缸活动铰接在安装座和挡板之间,且挡板活动铰接在箱体底端的两侧,所以启动液压油缸可以带动挡板的一侧下降,通过使挡板的一侧下降可以将物料通过出料口排出箱体的内部,设置液压油缸和挡板可以防止物料堵塞在出料口的内部,箱体内部的底端设置有导向板,导向板可以对物料进行导向防止物料排不出去,解决的是不方便混合物出料,容易导致出料口堵塞的问题。


