授权公布号:CN215999776U
一种外圆磨削用工装
有效
申请
2021-08-02
申请公布
1970-01-01
授权
2022-03-11
预估到期
2031-08-02
| 申请号 | CN202121786935.9 |
| 申请日 | 2021-08-02 |
| 授权公布号 | CN215999776U |
| 授权公告日 | 2022-03-11 |
| 分类号 | B24B5/36;B24B5/35;B24B41/06;B24B47/22 |
| 分类 | 磨削;抛光; |
| 申请人名称 | 自贡硬质合金有限责任公司 |
| 申请人地址 | 四川省自贡市人民路111号 |
专利法律状态
2023-01-24
专利申请权、专利权的转移
状态信息
专利权的转移;IPC(主分类):B24B5/36;登记生效日:20230111;变更事项:专利权人;变更前:自贡硬质合金有限责任公司;变更后:自贡硬质合金有限责任公司;变更事项:地址;变更前:643010 四川省自贡市人民路111号;变更后:643011 四川省自贡市人民路111号;变更事项:专利权人;变更后:成都长城切削刀具有限责任公司
2022-03-11
授权
状态信息
授权
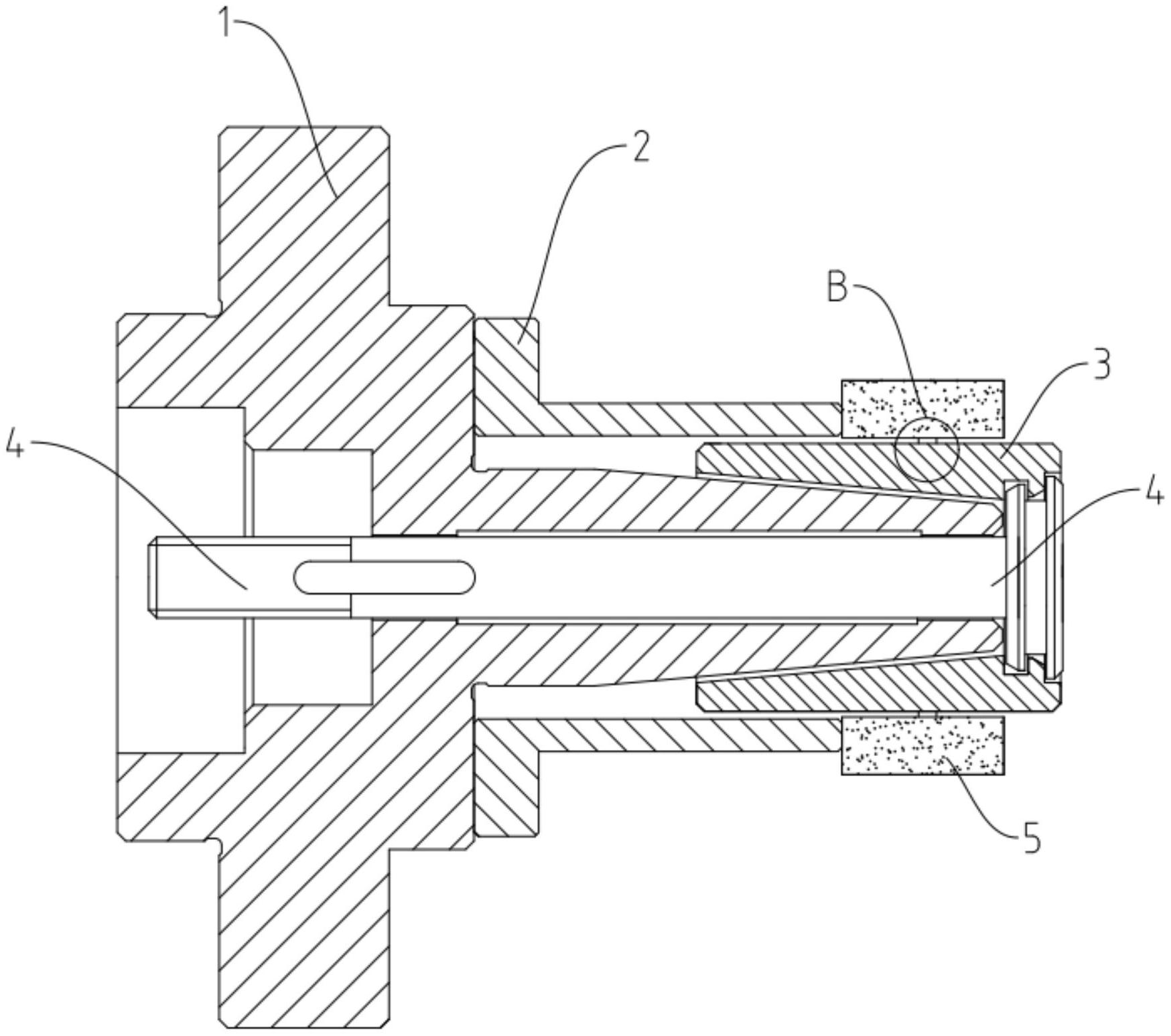
摘要
本实用新型涉及夹具工装技术领域,具体而言,涉及一种外圆磨削用工装,包括夹具本体,以及套设于所述夹具本体一端的定位盘和胀紧套,所述定位盘远离所述胀紧套的一端与所述夹具本体固定连接,且所述定位盘的内壁与所述夹具本体的外壁之间具有间隙,所述胀紧套一端位于所述间隙内,所述胀紧套另一端的外壁凸设有凸台,所述凸台与产品的内壁抵接,以固定所述产品。在本实用新型中,在胀紧套的外壁凸设有凸台,当胀紧套安装在轴套类产品的轴孔内时,凸台与轴套内壁抵接,其接触面积小,进而减小内孔形位误差对轴套外圆磨削加工精度的影响,可提高外圆磨削加工的精度。


